前言

虽然这门课叫做心理统计,但是统计的内容几乎不涵盖任何数学公式以及相应的公式推导证明,即使刘红云老师是数学科班出身…据她说,她也是在心理学部摸爬滚打摸索出一条不讲任何数学公式的统计课,适合心理学部宝宝的体质。

多元回归分析

导入包与数据

1
2
3
4
5
6
7
8
9
10
11
12
13
14
15
16
17
# 导入包
library(haven)
library(car)
library(olsrr)
library(psych)
library(ggplot2)
library(broom)
library(ppcor)
library(lm.beta)

# 导入数据
setwd("/Users/nanxu/研究生课程作业/心理统计/多元回归个人作业数据文件/")
data <- read_sav("./3_1.sav")

# 查看数据
names(data)
dim(data)

标准多元回归

1
2
3
4
5
# 进行多元回归分析
model <- lm(timedrs ~ phyheal + menheal + stress, data = data)

# 查看模型摘要
summary(model)

模型拟合情况

1
2
3
Residual standard error: 10.13 on 356 degrees of freedom
Multiple R-squared: 0.211, Adjusted R-squared: 0.2044
F-statistic: 31.74 on 3 and 356 DF, p-value: < 2.2e-16

三个自变量总共可以解释因变量变异的21.1%

标准化回归系数

1
2
# 标准化回归系数
lm.beta(model)
1
2
3
Standardized Coefficients::
(Intercept) phyheal menheal stress
NA 0.359931424 0.008328805 0.193065466

方差分析

1
2
# 方差分析
anova(model)
1
2
3
4
5
6
Response: timedrs
Df Sum Sq Mean Sq F value Pr(>F)
phyheal 1 8154 8154.1 79.4912 < 2.2e-16 ***
menheal 1 110 110.5 1.0769 0.3000946
stress 1 1502 1501.7 14.6391 0.0001537 ***
Residuals 356 36518 102.6

多重共线性

多重共线性指标

1
2
3
4
5
6
7
8
9
10
11
# 多重共线性指标
# 计算 VIF
vif(model)
# 计算 TOL(容忍度)
1/vif(model)
# 计算条件指数
# ols_eigen_cindex(model)

# 进行标准化自变量的多元回归分析
model_std <- lm(timedrs ~ scale(phyheal) + scale(menheal) + scale(stress), data = data)
ols_eigen_cindex(model_std)
1
2
3
4
5
6
7
8
9
10
11
12
> vif(model)
phyheal menheal stress
1.361953 1.402107 1.148871
> 1/vif(model)
phyheal menheal stress
0.7342395 0.7132121 0.8704199
> ols_eigen_cindex(model_std)
Eigenvalue Condition Index intercept scale(phyheal) scale(menheal) scale(stress)
1 1.7531868 1.000000 0 0.1521228 0.15623913 0.12546381
2 1.0000000 1.324080 1 0.0000000 0.00000000 0.00000000
3 0.7483957 1.530553 0 0.1797878 0.07500899 0.85837173
4 0.4984175 1.875502 0 0.6680894 0.76875189 0.01616446

容忍度TOL大于0.1,且方差膨胀因子VIF小于10,并且条件指数CI为1.875502,三个变量不存在明显的多重共线性问题

残差分析

残差统计量

1
2
3
4
5
# 残差统计量
describe(fitted(model))
describe(residuals(model))
describe(scale(fitted(model)))
describe(scale(residuals(model)))

根据3SD原则,标准化残差的绝对值大雨3对应的观测值为异常值。

1
2
3
4
5
6
7
8
9
10
11
12
13
14
15
16
> describe(fitted(model))
vars n mean sd median trimmed mad min max range skew kurtosis se
X1 1 360 8.04 5.22 7.37 7.58 4.69 -0.65 26.98 27.63 0.94 1.03 0.27
> # 残差统计量
> describe(fitted(model))
vars n mean sd median trimmed mad min max range skew kurtosis se
X1 1 360 8.04 5.22 7.37 7.58 4.69 -0.65 26.98 27.63 0.94 1.03 0.27
> describe(residuals(model))
vars n mean sd median trimmed mad min max range skew kurtosis se
X1 1 360 0 10.09 -2.02 -1.72 4.03 -15.87 64.22 80.09 3.27 13.56 0.53
> describe(scale(fitted(model)))
vars n mean sd median trimmed mad min max range skew kurtosis se
X1 1 360 0 1 -0.13 -0.09 0.9 -1.67 3.63 5.3 0.94 1.03 0.05
> describe(scale(residuals(model)))
vars n mean sd median trimmed mad min max range skew kurtosis se
X1 1 360 0 1 -0.2 -0.17 0.4 -1.57 6.37 7.94 3.27 13.56 0.05

本数据集中存在异常值

Durbin-Watson 检验

1
2
# 进行 Durbin-Watson 检验
durbinWatsonTest(model)
1
2
3
4
> durbinWatsonTest(model)
lag Autocorrelation D-W Statistic p-value
1 0.7842281 0.3184074 0
Alternative hypothesis: rho != 0

Durbin-Watson 检验结果为0.3184074,认为残差可能存在正相关

P-P 图 残差累计概率图的散点图

残差的正态性假设指的是每个因变量的预测分数下的残差都呈正态分布。若在P-P图三所有标准化残差都分布在对角线上,则可认为没有违背正态性假设。

1
2
3
4
5
6
7
8
9
10
11
12
13
14
15
16
17
18
19
20
21
22
23
# P-P 图  残差累计概率图的散点图
pp_data <- data.frame(
# 计算正态分布的累计概率
Observed = sort(pnorm(scale(residuals(model)))),
# 生成理论上的正态分布的累计概率
Theoretical = sort(ppoints(length(scale(residuals(model)))))
)

# 绘制 P-P 图
pp_plot <- ggplot(pp_data, aes(x = Theoretical, y = Observed)) +
geom_point(size = 2, shape = 1) +
geom_abline(intercept = 0, slope = 1, color = "red", linetype = "dashed") +
labs(
title = "P-P Plot of Residuals",
x = "Theoretical Quantiles",
y = "Observed Quantiles"
) +
theme_minimal() +
theme(
panel.border = element_rect(colour = "black", fill = NA, size = 1),
axis.line = element_line(colour = "black")
)
print(pp_plot)

残差累计概率图的散点图

残差值的点基本上没有分布中对角线上,判定残差不服从正态分布

标准化因变量预测值与标准化残差的散点图

1
2
3
4
5
6
7
8
9
10
11
12
13
14
15
16
17
18
19
20
21
22
23
# 标准化因变量预测值与标准化残差的散点图
scatter_data <- data.frame(
Fitted = scale(fitted(model)),
Std_Residuals = scale(residuals(model))
)

# 绘制散点图
scatter_plot <- ggplot(scatter_data, aes(x = Fitted, y = Std_Residuals)) +
geom_point(size = 2, shape = 1) +
geom_hline(yintercept = 0, color = "red", linetype = "dashed") +
labs(
title = "Scatter Plot of Fitted Values and Standardized Residuals",
x = "Standardized Fitted Values",
y = "Standardized Residuals"
) +
theme_minimal() +
theme(
panel.border = element_rect(colour = "black", fill = NA, size = 1),
axis.line = element_line(colour = "black")
)

# 输出散点图
print(scatter_plot)

因变量预测值与标准化残差的散点图

图中各点没有随机分布在一条穿过零点的水平直线的两侧,表明残差的分布不满足正态及残差方差齐次性假设

因变量对数转换的多元回归分析

1
2
3
4
5
6
# 进行因变量对数转换的多元回归分析
model_log <- lm(logtimedrs ~ phyheal + menheal + stress, data = data)

summary(model_log)
lm.beta(model_log)
anova(model_log)
1
2
3
4
5
6
7
8
9
10
11
12
13
14
Residual standard error: 0.7752 on 356 degrees of freedom
Multiple R-squared: 0.3471, Adjusted R-squared: 0.3416
F-statistic: 63.08 on 3 and 356 DF, p-value: < 2.2e-16

Standardized Coefficients::
(Intercept) phyheal menheal stress
NA 0.49088568 0.03005799 0.18537313

Response: logtimedrs
Df Sum Sq Mean Sq F value Pr(>F)
phyheal 1 102.505 102.505 170.5668 < 2.2e-16 ***
menheal 1 1.429 1.429 2.3773 0.124
stress 1 9.801 9.801 16.3087 6.594e-05 ***
Residuals 356 213.945 0.601

可见因变量对数转换后的回归方程R2有所升高,回归方程更加显著

1
2
3
4
5
6
7
8
9
10
11
12
13
14
15
16
17
18
19
20
21
22
23
24
25
26
27
28
29
30
31
32
33
34
35
36
37
38
39
40
41
42
43
# 绘制 P-P 图
pp_data <- data.frame(
# 计算正态分布的累计概率
Observed = sort(pnorm(scale(residuals(model_log)))),
# 生成理论上的正态分布的累计概率
Theoretical = sort(ppoints(length(scale(residuals(model_log)))))
)
pp_plot <- ggplot(pp_data, aes(x = Theoretical, y = Observed)) +
geom_point(size = 2, shape = 1) +
geom_abline(intercept = 0, slope = 1, color = "red", linetype = "dashed") +
labs(
title = "P-P Plot of Residuals",
x = "Theoretical Quantiles",
y = "Observed Quantiles"
) +
theme_minimal() +
theme(
panel.border = element_rect(colour = "black", fill = NA, size = 1),
axis.line = element_line(colour = "black")
)
print(pp_plot)

# 因变量预测值与标准化残差的散点图
scatter_data <- data.frame(
Fitted = scale(fitted(model_log)),
Std_Residuals = scale(residuals(model_log))
)

scatter_plot <- ggplot(scatter_data, aes(x = Fitted, y = Std_Residuals)) +
geom_point(size = 2, shape = 1) +
geom_hline(yintercept = 0, color = "red", linetype = "dashed") +
labs(
title = "Scatter Plot of Fitted Values and Standardized Residuals",
x = "Standardized Fitted Values",
y = "Standardized Residuals"
) +
theme_minimal() +
theme(
panel.border = element_rect(colour = "black", fill = NA, size = 1),
axis.line = element_line(colour = "black")
)

print(scatter_plot)

因变量对数转换后的残差累计概率图的散点图

因变量对数转换后的因变量预测值与标准化残差的散点图

因变量对数转换后的回归方程基本满足正态性假设以及残差方差齐次性假设

提取回归系数估计和95%置信区间

1
2
# 提取回归系数估计和95%置信区间
tidy(model_log, conf.int = TRUE, conf.level = 0.95)
1
2
3
4
5
6
7
8
> tidy(model_log, conf.int = TRUE, conf.level = 0.95)
# A tibble: 4 × 7
term estimate std.error statistic p.value conf.low conf.high
<chr> <dbl> <dbl> <dbl> <dbl> <dbl> <dbl>
1 (Intercept) 0.402 0.105 3.83 1.50e- 4 0.195 0.608
2 phyheal 0.204 0.0208 9.82 2.63e-20 0.163 0.245
3 menheal 0.00681 0.0115 0.593 5.54e- 1 -0.0158 0.0294
4 stress 0.00132 0.000327 4.04 6.59e- 5 0.000677 0.00196

相关系数

零相关系数

1
2
# 计算零相关系数
corr.test(data[c("logtimedrs", "phyheal", "menheal", "stress")])
1
2
           logtimedrs phyheal menheal stress
logtimedrs 1.00 0.56 0.34 0.34

偏相关系数

1
2
# 计算偏相关系数
pcor(data[c("logtimedrs", "phyheal", "menheal", "stress")])
1
2
           logtimedrs    phyheal    menheal     stress
logtimedrs 1.00000000 0.46174569 0.03139996 0.20929484

半偏相关系数

1
2
# 计算半偏相关系数
spcor(data[c("logtimedrs", "phyheal", "menheal", "stress")])
1
2
           logtimedrs    phyheal    menheal     stress
logtimedrs 1.00000000 0.42062902 0.02538454 0.17294627

序列回归

1
2
3
4
5
6
7
8
9
10
11
12
# 拟合回归模型,逐步添加变量
# 第一步:仅包含 phyheal
model1 <- lm(logtimedrs ~ phyheal, data = data)
summary(model1, standardized=TRUE)
lm.beta(model1)
# 计算零相关系数
corr.test(data[c("logtimedrs", "phyheal")])
# 计算偏相关系数
pcor(data[c("logtimedrs", "phyheal")])
# 计算半偏相关系数
spcor(data[c("logtimedrs", "phyheal")])

1
2
3
4
5
6
7
8
9
10
11
12
13
14
15
16
17
18
19
20
21
22
23
24
25
26
27
28
29
30
> summary(model1, standardized=TRUE)
Coefficients:
Estimate Std. Error t value Pr(>|t|)
(Intercept) 0.57627 0.09877 5.834 1.21e-08 ***
phyheal 0.23250 0.01821 12.766 < 2e-16 ***
---
Residual standard error: 0.7931 on 358 degrees of freedom
Multiple R-squared: 0.3128, Adjusted R-squared: 0.3109
F-statistic: 163 on 1 and 358 DF, p-value: < 2.2e-16

> lm.beta(model1)
Standardized Coefficients::
(Intercept) phyheal
NA 0.5593045

> # 计算零相关系数
> corr.test(data[c("logtimedrs", "phyheal")])
Correlation matrix
logtimedrs phyheal
logtimedrs 1.00 0.56

> # 计算偏相关系数
> pcor(data[c("logtimedrs", "phyheal")])
logtimedrs phyheal
logtimedrs 1.0000000 0.5593045

> # 计算半偏相关系数
> spcor(data[c("logtimedrs", "phyheal")])
logtimedrs phyheal
logtimedrs 1.0000000 0.5593045

身体健康症状phyheal的零阶相关系数、偏相关系数与半偏相关系数相等

1
2
3
4
5
6
7
8
9
10
# 第二步:添加 stress
model2 <- lm(logtimedrs ~ phyheal + stress, data = data)
lm.beta(model2)
summary(model2, standardized=TRUE)
# 计算零相关系数
corr.test(data[c("logtimedrs", "phyheal", "stress")])
# 计算偏相关系数
pcor(data[c("logtimedrs", "phyheal", "stress")])
# 计算半偏相关系数
spcor(data[c("logtimedrs", "phyheal", "stress")])
1
2
3
4
5
6
7
8
9
10
11
12
13
14
15
16
17
18
19
20
21
22
23
24
25
26
27
28
29
30
> summary(model2, standardized=TRUE)
Coefficients:
Estimate Std. Error t value Pr(>|t|)
(Intercept) 0.4074062 0.1041975 3.910 0.00011 ***
phyheal 0.2095523 0.0185741 11.282 < 2e-16 ***
stress 0.0013633 0.0003181 4.286 2.35e-05 ***
---
Residual standard error: 0.7745 on 357 degrees of freedom
Multiple R-squared: 0.3464, Adjusted R-squared: 0.3428
F-statistic: 94.62 on 2 and 357 DF, p-value: < 2.2e-16

> lm.beta(model2)
Standardized Coefficients::
(Intercept) phyheal stress
NA 0.5041089 0.1915007

> # 计算零相关系数
> corr.test(data[c("logtimedrs", "phyheal", "stress")])
logtimedrs phyheal stress
logtimedrs 1.00 0.56 0.34

> # 计算偏相关系数
> pcor(data[c("logtimedrs", "phyheal", "stress")])
logtimedrs phyheal stress
logtimedrs 1.0000000 0.5126673 0.2212089

> # 计算半偏相关系数
> spcor(data[c("logtimedrs", "phyheal", "stress")])
logtimedrs phyheal stress
logtimedrs 1.0000000 0.4827156 0.1833739
1
2
3
# 第三步:添加 menheal
model3 <- lm(logtimedrs ~ phyheal + stress + menheal, data = data)
summary(model3, standardized=TRUE)
1
2
3
4
5
6
7
8
9
10
11
12
13
14
15
16
17
18
19
20
21
22
23
24
25
26
27
28
29
30
31
> summary(model3, standardized=TRUE)
Coefficients:
Estimate Std. Error t value Pr(>|t|)
(Intercept) 0.4015263 0.1047630 3.833 0.00015 ***
phyheal 0.2040556 0.0207754 9.822 < 2e-16 ***
stress 0.0013197 0.0003268 4.038 6.59e-05 ***
menheal 0.0068070 0.0114839 0.593 0.55373
---
Residual standard error: 0.7752 on 356 degrees of freedom
Multiple R-squared: 0.3471, Adjusted R-squared: 0.3416
F-statistic: 63.08 on 3 and 356 DF, p-value: < 2.2e-16

> lm.beta(model3)
Standardized Coefficients::
(Intercept) phyheal stress menheal
NA 0.49088568 0.18537313 0.03005799

> # 计算零相关系数
> corr.test(data[c("logtimedrs", "phyheal", "menheal", "stress")])
logtimedrs phyheal menheal stress
logtimedrs 1.00 0.56 0.34 0.34

> # 计算偏相关系数
> pcor(data[c("logtimedrs", "phyheal", "menheal", "stress")])
logtimedrs phyheal menheal stress
logtimedrs 1.00000000 0.46174569 0.03139996 0.20929484

> # 计算半偏相关系数
> spcor(data[c("logtimedrs", "phyheal", "menheal", "stress")])
logtimedrs phyheal menheal stress
logtimedrs 1.00000000 0.42062902 0.02538454 0.17294627

可以看出,模型三加入menheal并没有带来R2显著的变化,表明新加入的变量对预测因变量没有显著的贡献。并且心理健康症状menheal的标准化系数为0.03005799,不能显著预测看病次数。偏相关系数为0.03139996且半偏相关系数为0.02538454,与零阶相关系数0.34相差较大,表明menheal不能预测看病次数。

1
2
3
4
5
6
7
8
9
10
> anova(model1, model2, model3)
Analysis of Variance Table

Model 1: logtimedrs ~ phyheal
Model 2: logtimedrs ~ phyheal + stress
Model 3: logtimedrs ~ phyheal + stress + menheal
Res.Df RSS Df Sum of Sq F Pr(>F)
1 358 225.18
2 357 214.16 1 11.0186 18.3347 2.386e-05 ***
3 356 213.94 1 0.2111 0.3513 0.5537

EFA

导入包与数据

1
2
3
4
5
6
7
8
9
10
11
12
# 导入包
library(haven)
library(psych)
library(GPArotation)

# 导入数据
setwd("/Users/nanxu/研究生课程作业/心理统计/课件数据/7第七章 探索性因素分析/")
data <- read_sav("./7_2.sav")

# 查看数据
names(data)
dim(data)

数据预处理

1
2
3
4
5
6
7
8
9
10
11
12
13
# 选择Q1-Q32
analysis_data <- data[, 1:32]

# 缺失值处理
analysis_data[analysis_data == -1] <- NA
colSums(is.na(analysis_data))

# 描述数据
# summary(analysis_data)
describe(analysis_data)

# 删除缺失值

1
2
3
4
5
6
7
8
9
# 计算相关系数矩阵
cor_matrix <- cor(analysis_data, use="complete.obs")
cor.plot(cor_matrix)

# KMO检验 与 MSA
KMO(cor_matrix)

# Bartlett's 检验
cortest.bartlett(cor_matrix, n = nrow(analysis_data))

相关矩阵

1
2
3
4
5
6
7
8
9
10
11
12
13
14
15
16
17
18
19
> KMO(cor_matrix)
Kaiser-Meyer-Olkin factor adequacy
Call: KMO(r = cor_matrix)
Overall MSA = 0.86
MSA for each item =
Q1 Q2 Q3 Q4 Q5 Q6 Q7 Q8 Q9 Q10 Q11 Q12 Q13 Q14 Q15 Q16 Q17 Q18 Q19 Q20 Q21 Q22 Q23 Q24 Q25 Q26 Q27
0.91 0.90 0.90 0.87 0.87 0.79 0.79 0.82 0.91 0.85 0.86 0.88 0.89 0.90 0.82 0.86 0.88 0.83 0.91 0.82 0.89 0.85 0.81 0.82 0.83 0.88 0.83
Q28 Q29 Q30 Q31 Q32
0.87 0.87 0.76 0.82 0.90

> cortest.bartlett(cor_matrix, n = nrow(analysis_data))
$chisq
[1] 4504.689

$p.value
[1] 0

$df
[1] 496

KMO的值为0.86大于0.5接近1;Bartlett球形检验结果是显著的;反映像相关矩阵MSA都大于0.5,适合做因素分析。

确定因子数目

1
2
3
# 估计合适的因子个数
fa.parallel(analysis_data, fa="fa", n.iter=500)
vss(analysis_data, rotate = "promax", fm = "pa")

碎石图

vvs

可以看出,碎石图的拐点位于5个因素的位置

因素数固定为7的探索性因素分析

1
2
3
4
5
6
7
8
9
10
11
12
13
# 公共因素模型 主轴因素法 因子数为7
efa_7_pa <- fa(analysis_data, nfactors=7, rotate="none", fm="pa")
# 总体方差解释
efa_7_pa$Vaccounted
# 共同度
efa_7_pa$communality
# 成分矩阵
efa_7_pa$loadings
# 只显示大于0.3的载荷
print(efa_7_pa$loadings, cutoff=0.3)
# 可视化
plot(efa_7_pa)
fa.diagram(efa_7_pa)
1
2
3
4
5
6
7
8
9
10
11
12
13
14
15
16
17
18
19
20
21
22
23
24
25
26
27
28
29
30
31
32
33
34
35
36
37
38
39
40
41
42
43
44
45
46
47
48
49
50
> efa_7_pa$Vaccounted
PA1 PA2 PA3 PA4 PA5 PA6 PA7
SS loadings 6.0813377 2.73434132 2.61094942 1.65202904 0.64506901 0.56737623 0.45388757
Proportion Var 0.1900418 0.08544817 0.08159217 0.05162591 0.02015841 0.01773051 0.01418399
Cumulative Var 0.1900418 0.27548997 0.35708214 0.40870804 0.42886645 0.44659696 0.46078095
Proportion Explained 0.4124342 0.18544206 0.17707366 0.11204002 0.04374835 0.03847925 0.03078249
Cumulative Proportion 0.4124342 0.59787622 0.77494988 0.88698990 0.93073825 0.96921751 1.00000000
> efa_7_pa$communality
Q1 Q2 Q3 Q4 Q5 Q6 Q7 Q8 Q9 Q10 Q11 Q12 Q13
0.5301886 0.4358322 0.4134696 0.4153618 0.3550281 0.3194059 0.3771826 0.6217469 0.2791207 0.5942034 0.3818267 0.4474353 0.5873971
Q14 Q15 Q16 Q17 Q18 Q19 Q20 Q21 Q22 Q23 Q24 Q25 Q26
0.4835861 0.6512268 0.4792159 0.6518687 0.6188608 0.4615502 0.5965053 0.5176691 0.4549469 0.3967925 0.2961682 0.4942008 0.4989878
Q27 Q28 Q29 Q30 Q31 Q32
0.4268663 0.2830110 0.4525763 0.2163821 0.5086944 0.4976820
> print(efa_7_pa$loadings, cutoff=0.3)

Loadings:
PA1 PA2 PA3 PA4 PA5 PA6 PA7
Q1 -0.579
Q2 0.508
Q3 0.467 -0.398
Q4 0.332 0.413
Q5 0.482
Q6 0.414
Q7 -0.301 0.460
Q8 0.422 0.527 0.359
Q9 -0.443
Q10 0.527 0.460
Q11 -0.443
Q12 0.353 0.389 0.302
Q13 0.556 0.318
Q14 0.547
Q15 -0.367 -0.304 0.603
Q16 -0.327 -0.514
Q17 -0.642 0.368
Q18 0.518 0.507
Q19 0.558
Q20 0.392 0.588
Q21 0.536 -0.312 -0.311
Q22 -0.437 0.378
Q23 -0.362 0.373
Q24 0.354
Q25 -0.471 0.350
Q26 0.534 0.303
Q27 -0.451
Q28 0.419
Q29 -0.360 0.317
Q30 0.306
Q31 -0.352 0.571
Q32 0.437 0.444

可以看出,总体方差解释率为46.078095%

并且在第7个因素上,没有任何一个变量的因素载荷绝对值大于0.3,且在第5、6个因素上,都各只有一个变量的因素载荷绝对值大于0.3

7因素探索性因素分析

因素数固定为5的探索性因素分析

1
2
3
4
5
6
7
8
9
10
11
12
13
# 因子数为5
efa_5_pa <- fa(analysis_data, nfactors=5, rotate="none", fm="pa")
# 总体方差解释
efa_5_pa$Vaccounted
# 共同度
efa_5_pa$communality
# 成分矩阵
efa_5_pa$loadings
# 只显示大于0.3的载荷
print(efa_5_pa$loadings, cutoff=0.3)
# 可视化
plot(efa_5_pa)
fa.diagram(efa_5_pa)
1
2
3
4
5
6
7
8
9
10
11
12
13
14
15
16
17
18
19
20
21
22
23
24
25
26
27
28
29
30
31
32
33
34
35
36
37
38
39
40
41
42
43
44
45
46
47
48
49
50
51
> efa_5_pa$Vaccounted
PA1 PA2 PA3 PA4 PA5
SS loadings 6.0447895 2.70811626 2.58239077 1.62184075 0.59269854
Proportion Var 0.1888997 0.08462863 0.08069971 0.05068252 0.01852183
Cumulative Var 0.1888997 0.27352830 0.35422802 0.40491054 0.42343237
Proportion Explained 0.4461153 0.19986340 0.19058465 0.11969450 0.04374212
Cumulative Proportion 0.4461153 0.64597873 0.83656339 0.95625788 1.00000000
> efa_5_pa$communality
Q1 Q2 Q3 Q4 Q5 Q6 Q7 Q8 Q9 Q10 Q11 Q12 Q13
0.4895669 0.4184995 0.4129032 0.3615361 0.3316432 0.2657098 0.3831236 0.6236585 0.2700609 0.5442838 0.3369135 0.4022832 0.4255985
Q14 Q15 Q16 Q17 Q18 Q19 Q20 Q21 Q22 Q23 Q24 Q25 Q26
0.4926129 0.6275907 0.4857603 0.6250116 0.6247279 0.4436987 0.5957230 0.5273436 0.2401221 0.3335453 0.2501605 0.4073258 0.4757534
Q27 Q28 Q29 Q30 Q31 Q32
0.3700609 0.2784140 0.3481493 0.1868792 0.4746635 0.4965126
> print(efa_5_pa$loadings, cutoff=0.3)

Loadings:
PA1 PA2 PA3 PA4 PA5
Q1 -0.576
Q2 0.507
Q3 0.469 -0.400
Q4 0.332 0.404
Q5 0.481
Q6 0.412
Q7 -0.303 0.463
Q8 0.425 0.528 0.363
Q9 -0.444
Q10 0.525 0.447
Q11 -0.438
Q12 0.352 0.383
Q13 0.542
Q14 0.550
Q15 -0.366 -0.302 0.601
Q16 -0.330 -0.517
Q17 -0.640 0.371
Q18 0.520 0.511
Q19 0.558
Q20 0.395 0.588
Q21 0.538 -0.316 -0.321
Q22 -0.423
Q23 -0.359 0.367
Q24 0.348
Q25 -0.464 0.340
Q26 0.533
Q27 -0.444
Q28 0.420
Q29 -0.353 0.308
Q30 0.301
Q31 -0.350 0.567
Q32 0.440 0.443

可以看出,总体方差解释率为42.343237%

并且在第5个因素上,没有任何一个变量的因素载荷绝对值大于0.3

5因素探索性因素分析

因素数固定为4的探索性因素分析

1
2
3
4
5
6
7
8
9
10
11
# 因子数为4 斜交旋转
efa_4_pa <- fa(analysis_data, nfactors=4, rotate="promax", fm="pa")
# 总体方差解释
efa_4_pa$Vaccounted
# 共同度
efa_4_pa$communality
# 成分矩阵
efa_4_pa$loadings
# 只显示大于0.3的载荷
print(efa_4_pa$loadings, cutoff=0.3)

1
2
3
4
5
6
7
8
9
10
11
12
13
14
15
16
17
18
19
20
21
22
23
24
25
26
27
28
29
30
31
32
33
34
35
36
37
38
39
40
41
42
43
44
45
46
47
48
49
50
51
> efa_4_pa$Vaccounted
PA1 PA2 PA4 PA3
SS loadings 3.6326482 3.15732774 3.0501600 3.04880469
Proportion Var 0.1135203 0.09866649 0.0953175 0.09527515
Cumulative Var 0.1135203 0.21218675 0.3075042 0.40277940
Proportion Explained 0.2818423 0.24496410 0.2366494 0.23654424
Cumulative Proportion 0.2818423 0.52680636 0.7634558 1.00000000
> efa_4_pa$communality
Q1 Q2 Q3 Q4 Q5 Q6 Q7 Q8 Q9 Q10 Q11 Q12 Q13
0.4900625 0.3937478 0.4067060 0.3584038 0.3256476 0.2662986 0.3822206 0.6101605 0.2693080 0.5384912 0.3172389 0.3925288 0.4219459
Q14 Q15 Q16 Q17 Q18 Q19 Q20 Q21 Q22 Q23 Q24 Q25 Q26
0.4532441 0.5764920 0.3976837 0.6248901 0.6294796 0.3836804 0.5833695 0.5209850 0.1843002 0.2696753 0.1921420 0.3905649 0.4716011
Q27 Q28 Q29 Q30 Q31 Q32
0.3483654 0.2010546 0.3486561 0.1874059 0.4625831 0.4900075
> print(efa_4_pa$loadings, cutoff=0.3)

Loadings:
PA1 PA2 PA4 PA3
Q1 0.700
Q2 0.592
Q3 -0.566
Q4 0.601
Q5 -0.546
Q6 0.457
Q7 0.655
Q8 0.789
Q9 0.509
Q10 0.765
Q11 -0.594
Q12 0.627
Q13 -0.626
Q14 0.606
Q15 0.782
Q16 -0.620
Q17 0.815
Q18 0.858
Q19 -0.427
Q20 0.762
Q21 -0.731
Q22
Q23 0.478
Q24 0.432
Q25 0.639
Q26 0.653
Q27 -0.611
Q28
Q29 0.548
Q30 0.482
Q31 0.674
Q32 0.681

可以看出,总体方差解释率为40.277940% 有两个变量Q22与Q28在所有因素上的载荷绝对值都小于0.3。并且Q22的共同度为0.1843002,Q28的共同度为0.2010546。

4因素探索性因素分析

为了避免误删的情况,一次删除一个变量,先删除共同度更低的Q22

1
2
3
4
5
6
7
8
9
10
11
12
13
14
15
16
17
# 删去Q22
analysis_data1 <- subset(analysis_data, select = -Q22)
names(analysis_data1)

# 因子数为4 斜交旋转
efa_4_pa1 <- fa(analysis_data1, nfactors=4, rotate="promax", fm="pa")
# 总体方差解释
efa_4_pa1$Vaccounted
# 共同度
efa_4_pa1$communality
# 成分矩阵
efa_4_pa1$loadings
# 只显示大于0.3的载荷
print(efa_4_pa1$loadings, cutoff=0.3)
# 可视化
plot(efa_4_pa1)
fa.diagram(efa_4_pa1)
1
2
3
4
5
6
7
8
9
10
11
12
13
14
15
16
17
18
19
20
21
22
23
24
25
26
27
28
29
30
31
32
33
34
35
36
37
38
39
40
41
42
43
44
45
46
47
48
49
> efa_4_pa1$Vaccounted
PA1 PA2 PA3 PA4
SS loadings 3.5893385 3.1448807 3.04123134 2.92815052
Proportion Var 0.1157851 0.1014478 0.09810424 0.09445647
Cumulative Var 0.1157851 0.2172329 0.31533711 0.40979358
Proportion Explained 0.2825450 0.2475582 0.23939915 0.23049768
Cumulative Proportion 0.2825450 0.5301032 0.76950232 1.00000000
> efa_4_pa1$communality
Q1 Q2 Q3 Q4 Q5 Q6 Q7 Q8 Q9 Q10 Q11 Q12 Q13
0.4863391 0.3795585 0.4091628 0.3578021 0.3240189 0.2766300 0.3825274 0.6092897 0.2706913 0.5401742 0.3174019 0.3949205 0.4275838
Q14 Q15 Q16 Q17 Q18 Q19 Q20 Q21 Q23 Q24 Q25 Q26 Q27
0.4403981 0.5756366 0.3959852 0.6258198 0.6288677 0.3899786 0.5801802 0.5219272 0.2694124 0.1931119 0.3943182 0.4680189 0.3528202
Q28 Q29 Q30 Q31 Q32
0.2060787 0.3450362 0.1908110 0.4578422 0.4912575
> print(efa_4_pa1$loadings, cutoff=0.3)

Loadings:
PA1 PA2 PA3 PA4
Q1 0.693
Q2 0.570
Q3 -0.566
Q4 0.598
Q5 -0.541
Q6 0.461
Q7 0.651
Q8 0.785
Q9 0.505
Q10 0.752
Q11 -0.591
Q12 0.625
Q13 -0.622
Q14 0.586
Q15 0.776
Q16 -0.616
Q17 0.806
Q18 0.841
Q19 -0.430
Q20 0.758
Q21 -0.724
Q23 0.476
Q24 0.429
Q25 0.634
Q26 0.639
Q27 -0.610
Q28
Q29 0.539
Q30 0.476
Q31 0.667
Q32 0.680

可以看出,总体方差解释率为40.979358% 变量Q28在所有因素上的载荷绝对值小于0.3,Q28的共同度为0.2060787。

4因素探索性因素分析

继续删除Q28变量

1
2
3
4
5
6
7
8
9
10
11
12
13
14
15
16
17
18
# 删去Q28
analysis_data2 <- subset(analysis_data1, select = -Q28)
names(analysis_data2)

# 因子数为4 斜交旋转
efa_4_pa2 <- fa(analysis_data2, nfactors=4, rotate="promax", fm="pa")
# 总体方差解释
efa_4_pa2$Vaccounted
# 共同度
efa_4_pa2$communality
# 成分矩阵
efa_4_pa2$loadings
# 只显示大于0.3的载荷
print(efa_4_pa2$loadings, cutoff=0.3)
# 可视化
plot(efa_4_pa2)
fa.diagram(efa_4_pa2)

1
2
3
4
5
6
7
8
9
10
11
12
13
14
15
16
17
18
19
20
21
22
23
24
25
26
27
28
29
30
31
32
33
34
35
36
37
38
39
40
41
42
43
44
45
46
47
48
49
> efa_4_pa2$Vaccounted
PA1 PA2 PA3 PA4
SS loadings 3.5828806 3.0766135 2.99839031 2.84177976
Proportion Var 0.1194294 0.1025538 0.09994634 0.09472599
Cumulative Var 0.1194294 0.2219831 0.32192948 0.41665547
Proportion Explained 0.2866381 0.2461357 0.23987767 0.22734849
Cumulative Proportion 0.2866381 0.5327738 0.77265151 1.00000000
> efa_4_pa2$communality
Q1 Q2 Q3 Q4 Q5 Q6 Q7 Q8 Q9 Q10 Q11 Q12 Q13
0.4862573 0.3824251 0.4032269 0.3536933 0.3241615 0.2812596 0.3745370 0.6094749 0.2703332 0.5315761 0.3167107 0.3900420 0.4270932
Q14 Q15 Q16 Q17 Q18 Q19 Q20 Q21 Q23 Q24 Q25 Q26 Q27
0.4543375 0.5865768 0.4022270 0.6254822 0.6306127 0.3890294 0.5902971 0.5227965 0.2737261 0.1899345 0.3935340 0.4567565 0.3432978
Q29 Q30 Q31 Q32
0.3456581 0.1904744 0.4630060 0.4911267
> print(efa_4_pa2$loadings, cutoff=0.3)

Loadings:
PA1 PA2 PA3 PA4
Q1 0.693
Q2 0.566
Q3 -0.560
Q4 0.589
Q5 -0.540
Q6 0.459
Q7 0.640
Q8 0.776
Q9 0.504
Q10 0.737
Q11 -0.585
Q12 0.612
Q13 -0.621
Q14 0.591
Q15 0.776
Q16 -0.613
Q17 0.807
Q18 0.831
Q19 -0.432
Q20 0.757
Q21 -0.722
Q23 0.477
Q24 0.423
Q25 0.629
Q26 0.620
Q27 -0.598
Q29 0.539
Q30 0.467
Q31 0.662
Q32 0.673

4因素探索性因素分析

1
2
# 因素相关矩阵
efa_4_pa2$score.cor
1
2
3
4
5
6
> efa_4_pa2$score.cor
[,1] [,2] [,3] [,4]
[1,] 1.0000000 -0.1472319 0.2644861 -0.4064475
[2,] -0.1472319 1.0000000 -0.1725307 0.1851080
[3,] 0.2644861 -0.1725307 1.0000000 -0.1787275
[4,] -0.4064475 0.1851080 -0.1787275 1.0000000

可以根据每个因素下的题目的意义给因素命名

CFA

导入包与数据

1
2
3
4
5
6
7
8
9
10
11
# 导入包
library(lavaan)
library(semPlot)

# 导入数据
setwd("/Users/nanxu/研究生课程作业/心理统计/课件数据/8第八章 验证性因素分析/")
data <- read.table("./8_1.dat", header = FALSE, sep = "", na.strings = "NA")

# 查看数据
names(data)
dim(data)

数据介绍

1
2
3
4
# 描述数据
summary(data)
# library(psych)
# describe(data)

后三列数据分别是被试编码、被试年龄以及性别

探索性因素分析

第一次CFA

模型识别:待估计的参数数量t=11(因素载荷)+11(误差项方差)+1(两个因素的相关)=23 < (模型协方差矩阵的元素数)q(q+1)2\frac{q(q+1)}{2} = 66

1
2
3
4
5
6
7
8
9
10
11
12
13
14
15
16
17
18
19
20
21
22
23
24
25
26
27
28
29
30
31
32
# 定义CFA模型1
model1 <- '
# 定义潜变量 verbal_IQ
verbal_IQ =~ V1 + V2 + V3 + V4 + V5 + V6

# 定义潜变量 Performance_IQ
Performance_IQ =~ V7 + V8 + V9 + V10 + V11

# 显式请求截距
V1 ~1
V2 ~1
V3 ~1
V4 ~1
V5 ~1
V6 ~1
V7 ~1
V8 ~1
V9 ~1
V10 ~1
V11 ~1
'

# 运行CFA模型
fit1 <- cfa(model1, data=data)

summary(fit1, fit.measures = TRUE, standardized=TRUE, rsquare = TRUE)

# 修正指数结果
modificationIndices(fit1, sort = TRUE, minimum.value = 4.0)

# 可视化
semPaths(fit1, whatLabels="est", layout="tree", edge.label.cex=0.8, node.label.cex=0.9)

模型拟合结果

卡方值

1
2
3
4
5
6
7
8
9
10
11
Model Test User Model:

Test statistic 70.640
Degrees of freedom 43
P-value (Chi-square) 0.005

Model Test Baseline Model:

Test statistic 519.204
Degrees of freedom 55
P-value 0.000

似然值与信息标准指数

1
2
3
4
5
6
7
8
Loglikelihood and Information Criteria:

Loglikelihood user model (H0) -4491.822
Loglikelihood unrestricted model (H1) -4456.502

Akaike (AIC) 9051.643
Bayesian (BIC) 9159.246
Sample-size adjusted Bayesian (SABIC) 9051.579

相对拟合指数(比较拟合指数CFI、非标准拟合指数TLI)与绝对拟合指数(近似误差均方根RMSEA)

1
2
3
4
5
6
7
8
9
10
11
12
13
14
15
16
17
User Model versus Baseline Model:

Comparative Fit Index (CFI) 0.940
Tucker-Lewis Index (TLI) 0.924


Root Mean Square Error of Approximation:

RMSEA 0.061
90 Percent confidence interval - lower 0.033
90 Percent confidence interval - upper 0.085
P-value H_0: RMSEA <= 0.050 0.233
P-value H_0: RMSEA >= 0.080 0.103

Standardized Root Mean Square Residual:

SRMR 0.054

模型的RMSEA为0.061小于0.08,CFI为0.940,TLI为0.924,均大于0.9,表明模型拟合结果良好。

模型原始估计结果

因素载荷结果的估计值、标准误差、z分数以及统计显著性检验结果,方差标准化的结果Std.all

默认采用固定因素载荷为1的方法设定潜变量的量尺,采用每个潜变量的第一个观测变量的因素载荷为1

1
2
3
4
5
6
7
8
9
10
11
12
13
14
15
Latent Variables:
Estimate Std.Err z-value P(>|z|) Std.lv Std.all
verbal_IQ =~
V1 1.000 2.206 0.760
V2 0.926 0.108 8.609 0.000 2.042 0.691
V3 0.589 0.084 7.013 0.000 1.300 0.565
V4 1.012 0.115 8.764 0.000 2.232 0.703
V5 1.020 0.107 9.548 0.000 2.250 0.770
V6 0.477 0.099 4.805 0.000 1.053 0.390
Performance_IQ =~
V7 1.000 1.742 0.595
V8 0.719 0.156 4.614 0.000 1.253 0.473
V9 1.060 0.187 5.675 0.000 1.846 0.683
V10 0.921 0.177 5.215 0.000 1.605 0.566
V11 0.119 0.147 0.810 0.418 0.207 0.072

可以看出,X11在潜变量F2上的标准化因素载荷仅为0.072,且没有达到显著水平

潜变量的相关的估计值、标准误差、z分数以及统计显著性检验结果,方差标准化的结果Std.all

1
2
3
4
Covariances:
Estimate Std.Err z-value P(>|z|) Std.lv Std.all
verbal_IQ ~~
Performance_IQ 2.263 0.515 4.397 0.000 0.589 0.589

截距的估计值、标准误差、z分数以及统计显著性检验结果,方差标准化的结果Std.all

1
2
3
4
5
6
7
8
9
10
11
12
13
Intercepts:
Estimate Std.Err z-value P(>|z|) Std.lv Std.all
.V1 9.497 0.220 43.264 0.000 9.497 3.270
.V2 10.000 0.224 44.740 0.000 10.000 3.382
.V3 9.000 0.174 51.758 0.000 9.000 3.913
.V4 10.611 0.240 44.220 0.000 10.611 3.343
.V5 10.703 0.221 48.416 0.000 10.703 3.660
.V6 8.731 0.204 42.837 0.000 8.731 3.238
.V7 10.680 0.221 48.288 0.000 10.680 3.650
.V8 10.371 0.200 51.734 0.000 10.371 3.911
.V9 10.314 0.204 50.496 0.000 10.314 3.817
.V10 10.903 0.214 50.860 0.000 10.903 3.845
.V11 8.549 0.216 39.487 0.000 8.549 2.985

误差的方差与潜变量的方差的估计值、标准误差、z分数以及统计显著性检验结果,方差标准化的结果Std.all

1
2
3
4
5
6
7
8
9
10
11
12
13
14
15
Variances:
Estimate Std.Err z-value P(>|z|) Std.lv Std.all
.V1 3.566 0.507 7.034 0.000 3.566 0.423
.V2 4.572 0.585 7.815 0.000 4.572 0.523
.V3 3.602 0.420 8.571 0.000 3.602 0.681
.V4 5.096 0.662 7.702 0.000 5.096 0.506
.V5 3.487 0.506 6.886 0.000 3.487 0.408
.V6 6.162 0.680 9.056 0.000 6.162 0.848
.V7 5.526 0.757 7.296 0.000 5.526 0.646
.V8 5.463 0.658 8.298 0.000 5.463 0.777
.V9 3.894 0.640 6.083 0.000 3.894 0.533
.V10 5.467 0.719 7.600 0.000 5.467 0.680
.V11 8.159 0.874 9.335 0.000 8.159 0.995
verbal_IQ 4.867 0.883 5.514 0.000 1.000 1.000
Performance_IQ 3.035 0.844 3.593 0.000 1.000 1.000

R2结果

R2结果为每道题标准化因素载荷的平凡,描述了题目信度的高低

1
2
3
4
5
6
7
8
9
10
11
12
13
R-Square:
Estimate
V1 0.577
V2 0.477
V3 0.319
V4 0.494
V5 0.592
V6 0.152
V7 0.354
V8 0.223
V9 0.467
V10 0.320
V11 0.005

修正指数结果

1
2
# 修正指数结果
modificationIndices(fit1, sort = TRUE, minimum.value = 4.0)

修正指数结果部分呈现了所有可能路径的修正指数值mi、自由估计该参数时可能的估计值epc、使用连续潜变量的方差标准化的估计值sepc.lv、使用连续潜变量及背景变量和结果变量的方差进行标准化的估计值sepc.all

1
2
3
4
5
6
7
8
9
10
11
              lhs op rhs    mi    epc sepc.lv sepc.all sepc.nox
45 Performance_IQ =~ V2 9.823 0.538 0.937 0.317 0.317
75 V3 ~~ V10 6.362 -0.945 -0.945 -0.213 -0.213
50 V1 ~~ V2 5.221 -0.985 -0.985 -0.244 -0.244
94 V6 ~~ V11 4.927 1.207 1.207 0.170 0.170
64 V2 ~~ V7 4.685 0.969 0.969 0.193 0.193
98 V7 ~~ V11 4.575 -1.225 -1.225 -0.182 -0.182
44 Performance_IQ =~ V1 4.477 -0.342 -0.596 -0.205 -0.205
53 V1 ~~ V5 4.403 0.912 0.912 0.259 0.259
86 V5 ~~ V8 4.146 -0.798 -0.798 -0.183 -0.183
51 V1 ~~ V3 4.133 0.697 0.697 0.194 0.194

看出V2可能测量了Performance_IQ这个因素

第一次CFA

修正后的第二次CFA

1
2
3
4
5
6
7
8
9
10
11
12
13
14
15
16
17
18
19
20
21
22
23
24
25
26
27
# 修正模型
model2 <- '
# 定义潜变量 verbal_IQ
verbal_IQ =~ V1 + V2 + V3 + V4 + V5 + V6

# 定义潜变量 Performance_IQ
Performance_IQ =~ V2 + V7 + V8 + V9 + V10 + V11

# 显式请求截距
V1 ~1
V2 ~1
V3 ~1
V4 ~1
V5 ~1
V6 ~1
V7 ~1
V8 ~1
V9 ~1
V10 ~1
V11 ~1
'

fit2 <- cfa(model2, data=data)
summary(fit2, fit.measures = TRUE, standardized=TRUE, rsquare = TRUE)

# 可视化
semPaths(fit2, whatLabels="est", layout="tree", edge.label.cex=0.8, node.label.cex=0.9)
1
2
3
4
5
6
7
8
9
10
11
12
13
14
15
16
17
18
19
20
21
22
23
24
25
26
27
28
29
30
31
32
33
34
35
36
37
Model Test User Model:

Test statistic 60.642
Degrees of freedom 42
P-value (Chi-square) 0.031

Model Test Baseline Model:

Test statistic 519.204
Degrees of freedom 55
P-value 0.000

User Model versus Baseline Model:

Comparative Fit Index (CFI) 0.960
Tucker-Lewis Index (TLI) 0.947

Loglikelihood and Information Criteria:

Loglikelihood user model (H0) -4486.823
Loglikelihood unrestricted model (H1) -4456.502

Akaike (AIC) 9043.645
Bayesian (BIC) 9154.413
Sample-size adjusted Bayesian (SABIC) 9043.579

Root Mean Square Error of Approximation:

RMSEA 0.050
90 Percent confidence interval - lower 0.016
90 Percent confidence interval - upper 0.077
P-value H_0: RMSEA <= 0.050 0.465
P-value H_0: RMSEA >= 0.080 0.031

Standardized Root Mean Square Residual:

SRMR 0.050
1
2
3
4
5
6
7
8
9
10
11
12
13
14
15
16
17
18
19
20
21
22
23
24
25
26
27
28
29
30
31
32
33
34
35
36
37
38
39
40
41
42
43
44
45
46
47
48
49
50
51
52
53
54
55
56
57
58
59
60
61
62
63
64
65
66
Latent Variables:
Estimate Std.Err z-value P(>|z|) Std.lv Std.all
verbal_IQ =~
V1 1.000 2.256 0.777
V2 0.661 0.118 5.606 0.000 1.491 0.504
V3 0.579 0.082 7.101 0.000 1.307 0.568
V4 0.977 0.112 8.751 0.000 2.205 0.695
V5 1.008 0.103 9.739 0.000 2.273 0.777
V6 0.476 0.097 4.918 0.000 1.075 0.399
Performance_IQ =~
V2 1.000 0.884 0.299
V7 2.024 0.657 3.080 0.002 1.790 0.612
V8 1.345 0.470 2.862 0.004 1.189 0.448
V9 2.062 0.662 3.112 0.002 1.823 0.675
V10 1.847 0.606 3.048 0.002 1.633 0.576
V11 0.227 0.294 0.772 0.440 0.200 0.070

Covariances:
Estimate Std.Err z-value P(>|z|) Std.lv Std.all
verbal_IQ ~~
Performance_IQ 1.064 0.380 2.795 0.005 0.533 0.533

Intercepts:
Estimate Std.Err z-value P(>|z|) Std.lv Std.all
.V1 9.497 0.220 43.264 0.000 9.497 3.270
.V2 10.000 0.224 44.740 0.000 10.000 3.382
.V3 9.000 0.174 51.758 0.000 9.000 3.913
.V4 10.611 0.240 44.220 0.000 10.611 3.343
.V5 10.703 0.221 48.416 0.000 10.703 3.660
.V6 8.731 0.204 42.837 0.000 8.731 3.238
.V7 10.680 0.221 48.288 0.000 10.680 3.650
.V8 10.371 0.200 51.734 0.000 10.371 3.911
.V9 10.314 0.204 50.496 0.000 10.314 3.817
.V10 10.903 0.214 50.860 0.000 10.903 3.845
.V11 8.549 0.216 39.487 0.000 8.549 2.985

Variances:
Estimate Std.Err z-value P(>|z|) Std.lv Std.all
.V1 3.343 0.502 6.665 0.000 3.343 0.396
.V2 4.331 0.554 7.819 0.000 4.331 0.495
.V3 3.584 0.420 8.533 0.000 3.584 0.677
.V4 5.217 0.675 7.726 0.000 5.217 0.518
.V5 3.383 0.508 6.655 0.000 3.383 0.396
.V6 6.116 0.677 9.032 0.000 6.116 0.841
.V7 5.358 0.741 7.231 0.000 5.358 0.626
.V8 5.620 0.663 8.480 0.000 5.620 0.799
.V9 3.979 0.623 6.385 0.000 3.979 0.545
.V10 5.376 0.707 7.603 0.000 5.376 0.668
.V11 8.162 0.874 9.337 0.000 8.162 0.995
verbal_IQ 5.090 0.899 5.659 0.000 1.000 1.000
Performance_IQ 0.782 0.470 1.662 0.097 1.000 1.000

R-Square:
Estimate
V1 0.604
V2 0.505
V3 0.323
V4 0.482
V5 0.604
V6 0.159
V7 0.374
V8 0.201
V9 0.455
V10 0.332
V11 0.005

可以看出X11的因素载荷是不显著的,且标准化的载荷值只有0.070。可以考虑删除X11

修正后的第二次CFA

比较模型拟合指数

模型2是在模型1的基础上增加了参数,两个模型呈嵌套关系,可以进行拟合程度比较。

1
anova(fit1, fit2)
1
2
3
4
5
Chi-Squared Difference Test

Df AIC BIC Chisq Chisq diff RMSEA Df diff Pr(>Chisq)
fit2 42 9043.6 9154.4 60.642
fit1 43 9051.6 9159.2 70.640 9.998 0.22675 1 0.001567 **

可以看出两个模型的卡方值的差值Chisq diff为9.998,自由度的差值为1,表明两个模型的差异显著。模型二的拟合指数AIC、BIC、RMSEA、CFI、TLI优于模型1。

修正后的第三次CFA

1
2
3
4
5
6
7
8
9
10
11
12
13
14
15
16
17
18
19
20
21
22
23
24
25
26
# 修正模型
model3 <- '
# 定义潜变量 verbal_IQ
verbal_IQ =~ V1 + V2 + V3 + V4 + V5 + V6

# 定义潜变量 Performance_IQ
Performance_IQ =~ V2 + V7 + V8 + V9 + V10

# 显式请求截距
V1 ~1
V2 ~1
V3 ~1
V4 ~1
V5 ~1
V6 ~1
V7 ~1
V8 ~1
V9 ~1
V10 ~1
'

fit3 <- cfa(model3, data=data)
summary(fit3, fit.measures = TRUE, standardized=TRUE, rsquare = TRUE)

# 创建可视化
semPaths(fit3, whatLabels="est", layout="tree", edge.label.cex=0.8, node.label.cex=0.9)
1
2
3
4
5
6
7
8
9
10
11
12
13
14
15
16
17
18
19
20
21
22
23
24
25
26
27
28
29
30
31
32
33
34
35
36
37
Model Test User Model:

Test statistic 45.276
Degrees of freedom 33
P-value (Chi-square) 0.075

Model Test Baseline Model:

Test statistic 503.222
Degrees of freedom 45
P-value 0.000

User Model versus Baseline Model:

Comparative Fit Index (CFI) 0.973
Tucker-Lewis Index (TLI) 0.963

Loglikelihood and Information Criteria:

Loglikelihood user model (H0) -4054.684
Loglikelihood unrestricted model (H1) -4032.046

Akaike (AIC) 8173.368
Bayesian (BIC) 8274.642
Sample-size adjusted Bayesian (SABIC) 8173.308

Root Mean Square Error of Approximation:

RMSEA 0.046
90 Percent confidence interval - lower 0.000
90 Percent confidence interval - upper 0.077
P-value H_0: RMSEA <= 0.050 0.549
P-value H_0: RMSEA >= 0.080 0.033

Standardized Root Mean Square Residual:

SRMR 0.045
1
2
3
4
5
6
7
8
9
10
11
12
13
14
15
16
17
18
19
20
21
22
23
24
25
26
27
28
29
30
31
32
33
34
35
36
37
38
39
40
41
42
43
44
45
46
47
48
49
50
51
52
53
54
55
56
57
58
59
60
61
Latent Variables:
Estimate Std.Err z-value P(>|z|) Std.lv Std.all
verbal_IQ =~
V1 1.000 2.256 0.777
V2 0.661 0.118 5.608 0.000 1.491 0.504
V3 0.579 0.082 7.099 0.000 1.306 0.568
V4 0.977 0.112 8.755 0.000 2.206 0.695
V5 1.007 0.103 9.738 0.000 2.273 0.777
V6 0.476 0.097 4.916 0.000 1.074 0.398
Performance_IQ =~
V2 1.000 0.885 0.299
V7 2.041 0.661 3.088 0.002 1.807 0.618
V8 1.340 0.468 2.863 0.004 1.186 0.447
V9 2.045 0.657 3.114 0.002 1.811 0.670
V10 1.843 0.604 3.051 0.002 1.632 0.575

Covariances:
Estimate Std.Err z-value P(>|z|) Std.lv Std.all
verbal_IQ ~~
Performance_IQ 1.064 0.381 2.797 0.005 0.533 0.533

Intercepts:
Estimate Std.Err z-value P(>|z|) Std.lv Std.all
.V1 9.497 0.220 43.264 0.000 9.497 3.270
.V2 10.000 0.224 44.740 0.000 10.000 3.382
.V3 9.000 0.174 51.758 0.000 9.000 3.913
.V4 10.611 0.240 44.220 0.000 10.611 3.343
.V5 10.703 0.221 48.416 0.000 10.703 3.660
.V6 8.731 0.204 42.837 0.000 8.731 3.238
.V7 10.680 0.221 48.288 0.000 10.680 3.650
.V8 10.371 0.200 51.734 0.000 10.371 3.911
.V9 10.314 0.204 50.496 0.000 10.314 3.817
.V10 10.903 0.214 50.860 0.000 10.903 3.845

Variances:
Estimate Std.Err z-value P(>|z|) Std.lv Std.all
.V1 3.342 0.502 6.662 0.000 3.342 0.396
.V2 4.329 0.554 7.815 0.000 4.329 0.495
.V3 3.585 0.420 8.534 0.000 3.585 0.677
.V4 5.213 0.675 7.724 0.000 5.213 0.517
.V5 3.385 0.508 6.658 0.000 3.385 0.396
.V6 6.117 0.677 9.032 0.000 6.117 0.841
.V7 5.295 0.740 7.156 0.000 5.295 0.619
.V8 5.626 0.663 8.482 0.000 5.626 0.800
.V9 4.022 0.624 6.445 0.000 4.022 0.551
.V10 5.379 0.708 7.602 0.000 5.379 0.669
verbal_IQ 5.091 0.899 5.660 0.000 1.000 1.000
Performance_IQ 0.784 0.471 1.665 0.096 1.000 1.000

R-Square:
Estimate
V1 0.604
V2 0.505
V3 0.323
V4 0.483
V5 0.604
V6 0.159
V7 0.381
V8 0.200
V9 0.449
V10 0.331

修正后的第三次CFA

比较模型拟合指数

1
2
3
4
5
6
Chi-Squared Difference Test

Df AIC BIC Chisq Chisq diff RMSEA Df diff Pr(>Chisq)
fit3 33 8173.4 8274.6 45.276
fit2 42 9043.6 9154.4 60.642 15.365 0.063572 9 0.081379 .
fit1 43 9051.6 9159.2 70.640 9.998 0.226753 1 0.001567 **

模型三与模型二保焊的变量不同,不具有嵌套关系。只需要参考拟合指数AIC、BIC、RMSEA、CFI、TLI,表明模型三优于模型二。

等价性检验

对不同性别的测验等价性进行检验

1
2
3
4
analysis_data_withgender$V14 <- factor(analysis_data_withgender$V14, levels = c(0, 1), labels = c("male", "female"))

# 查看性别分布
table(analysis_data_withgender$V14)

使用最终确定的模型三作为等价性检验模型

1
2
3
4
5
6
7
8
9
10
11
12
13
14
15
16
17
18
19
20
model3 <- '
# 定义潜变量 verbal_
IQ
verbal_IQ =~ V1 + V2 + V3 + V4 + V5 + V6

# 定义潜变量 Performance_IQ
Performance_IQ =~ V2 + V7 + V8 + V9 + V10

# 显式请求截距
V1 ~1
V2 ~1
V3 ~1
V4 ~1
V5 ~1
V6 ~1
V7 ~1
V8 ~1
V9 ~1
V10 ~1
'

不同性别分别拟合模型

1
2
3
4
5
6
7
8
9
10
11
# 分别提取男性和女性的数据
data_male <- subset(data, V14 == "male")
data_female <- subset(data, V14 == "female")

# 对男性数据拟合模型
fit_male <- cfa(model3, data = data_male)
summary(fit_male, fit.measures = TRUE, standardized = TRUE, rsquare = TRUE)

# 对女性数据拟合模型
fit_female <- cfa(model3, data = data_female)
summary(fit_female, fit.measures = TRUE, standardized = TRUE, rsquare = TRUE)
1
2
3
4
5
6
7
8
9
10
11
12
13
14
15
16
17
18
19
20
21
22
23
24
25
26
27
28
29
30
> summary(fit_male, fit.measures = TRUE, standardized = TRUE, rsquare = TRUE)

User Model versus Baseline Model:

Comparative Fit Index (CFI) 0.910
Tucker-Lewis Index (TLI) 0.877

Root Mean Square Error of Approximation:

RMSEA 0.081
90 Percent confidence interval - lower 0.033
90 Percent confidence interval - upper 0.122
P-value H_0: RMSEA <= 0.050 0.121
P-value H_0: RMSEA >= 0.080 0.546

> summary(fit_female, fit.measures = TRUE, standardized = TRUE, rsquare = TRUE)

User Model versus Baseline Model:

Comparative Fit Index (CFI) 1.000
Tucker-Lewis Index (TLI) 1.030

Root Mean Square Error of Approximation:

RMSEA 0.000
90 Percent confidence interval - lower 0.000
90 Percent confidence interval - upper 0.058
P-value H_0: RMSEA <= 0.050 0.920
P-value H_0: RMSEA >= 0.080 0.008

可以看出男生组RMSEA为0.081,CFI值为0.910,TLI值为0.877;女生组RMSEA为0.000,CFI值为1.000,TLI值为1.030,表明两组模型都拟合良好

因素模式相同模型(基线模型)

1
2
3
# 配置等价模型
configural_model <- cfa(model3, data=data, group="V14")
summary(configural_model, fit.measures=TRUE, standardized=TRUE, rsquare = TRUE)
1
2
3
4
5
6
7
8
9
10
11
12
13
14
15
16
17
18
19
20
21
22
23
24
25
26
27
28
29
30
31
32
33
34
35
36
37
38
39
40
41
Model Test User Model:

Test statistic 79.129
Degrees of freedom 66
P-value (Chi-square) 0.129
Test statistic for each group:
female 27.457
male 51.672

Model Test Baseline Model:

Test statistic 548.746
Degrees of freedom 90
P-value 0.000

User Model versus Baseline Model:

Comparative Fit Index (CFI) 0.971
Tucker-Lewis Index (TLI) 0.961

Loglikelihood and Information Criteria:

Loglikelihood user model (H0) -4044.360
Loglikelihood unrestricted model (H1) -4004.796

Akaike (AIC) 8216.720
Bayesian (BIC) 8419.266
Sample-size adjusted Bayesian (SABIC) 8216.598

Root Mean Square Error of Approximation:

RMSEA 0.048
90 Percent confidence interval - lower 0.000
90 Percent confidence interval - upper 0.083
P-value H_0: RMSEA <= 0.050 0.516
P-value H_0: RMSEA >= 0.080 0.068

Standardized Root Mean Square Residual:

SRMR 0.057

可以看出RMSEA值为0.048,CFI的值为0.971,TLI的值为0.961,表明模型拟合较好。该模型作为基线模型,用于检验其他等价性条件是否满足。

因素载荷等价模型(弱等价性)

不同组的观测变量与对应的潜变量之间的因素载荷的值是相等的

1
2
3
# 度量等价
metric_model <- cfa(model3, data=analysis_data_withgender, group="V14", group.equal="loadings")
summary(metric_model, fit.measures=TRUE, standardized=TRUE, rsquare = TRUE)
1
2
3
4
5
6
7
> anova(configural_model, metric_model)

Chi-Squared Difference Test

Df AIC BIC Chisq Chisq diff RMSEA Df diff Pr(>Chisq)
configural_model 66 8216.7 8419.3 79.129
metric_model 75 8205.9 8380.0 86.297 7.1688 0 9 0.6196

弱等价性模型嵌套于基线模型,可以使用嵌套模型的比较方法。

可以看出两个模型的卡方值的差值Chisq diff为7.1688,自由度的差值Df diff为9,表明两个模型的卡方差异不显著。可以接受弱等价模型,即认为不同性别之间满足因素载荷等价条件。

截距等价性模型(强等价性)

不同组的观测变量的截距相等

1
2
3
# 截距等价
scalar_model <- cfa(model3, data=analysis_data_withgender, group="V14", group.equal=c("loadings", "intercepts"))
summary(scalar_model, fit.measures=TRUE, standardized=TRUE, rsquare = TRUE)
1
2
3
4
5
6
7
8
> anova(configural_model, metric_model, scalar_model)

Chi-Squared Difference Test

Df AIC BIC Chisq Chisq diff RMSEA Df diff Pr(>Chisq)
configural_model 66 8216.7 8419.3 79.129
metric_model 75 8205.9 8380.0 86.297 7.1688 0 9 0.6196
scalar_model 83 8193.3 8342.0 89.687 3.3898 0 8 0.9076

强等价性模型嵌套于弱等价性模型,可以使用嵌套模型的比较方法。

可以看出两个模型的卡方值的差值Chisq diff为3.3898,自由度的差值Df diff为8,表明两个模型的卡方差异不显著。可以接受强等价模型,即认为不同性别之间满足截距等价条件。

误差方差等价模型

假定来自不同组的误差方差相等

1
2
3
# 误差方差等价
error_variance_model <- cfa(model3, data=analysis_data_withgender, group="V14", group.equal=c("loadings", "intercepts", "residuals"))
summary(error_variance_model, fit.measures=TRUE, standardized=TRUE, rsquare = TRUE)
1
2
3
4
5
6
7
8
9
> anova(configural_model, metric_model, scalar_model, error_variance_model)

Chi-Squared Difference Test

Df AIC BIC Chisq Chisq diff RMSEA Df diff Pr(>Chisq)
configural_model 66 8216.7 8419.3 79.129
metric_model 75 8205.9 8380.0 86.297 7.1688 0 9 0.6196
scalar_model 83 8193.3 8342.0 89.687 3.3898 0 8 0.9076
error_variance_model 93 8178.4 8295.5 94.812 5.1252 0 10 0.8827

误差方差等价模型嵌套于强等价性模型,可以使用嵌套模型的比较方法。

可以看出两个模型的卡方值的差值Chisq diff为5.1252,自由度的差值Df diff为10,表明两个模型的卡方差异不显著。可以接受误差方差等价模型,即认为不同性别之间满足误差方差等价条件。

潜变量方差等价模型

假定来自不同组的误差方差相等,不同组的误差协方差相等

1
2
3
# 潜变量方差等价
latent_variance_model <- cfa(model3, data=analysis_data_withgender, group="V14", group.equal=c("loadings", "intercepts", "residuals", "lv.variances"))
summary(latent_variance_model, fit.measures=TRUE, standardized=TRUE, rsquare = TRUE)
1
2
3
4
5
6
7
8
9
10
> anova(configural_model, metric_model, scalar_model, error_variance_model, latent_variance_model)

Chi-Squared Difference Test

Df AIC BIC Chisq Chisq diff RMSEA Df diff Pr(>Chisq)
configural_model 66 8216.7 8419.3 79.129
metric_model 75 8205.9 8380.0 86.297 7.1688 0.000000 9 0.6196
scalar_model 83 8193.3 8342.0 89.687 3.3898 0.000000 8 0.9076
error_variance_model 93 8178.4 8295.5 94.812 5.1252 0.000000 10 0.8827
latent_variance_model 95 8177.7 8288.5 98.131 3.3185 0.086801 2 0.1903

潜变量方差等价模型嵌套于误差方差等价模型,可以使用嵌套模型的比较方法。

可以看出两个模型的卡方值的差值Chisq diff为3.3185,自由度的差值Df diff为2,表明两个模型的卡方差异不显著。可以接受潜变量方差等价模型,即认为不同性别之间满足潜变量方差等价条件。

潜变量协方差矩阵等价模型

1
2
3
# 潜变量协方差等价
latent_covariance_model <- cfa(model3, data=analysis_data_withgender, group="V14", group.equal=c("loadings", "intercepts", "residuals", "lv.variances", "lv.covariances"))
summary(latent_covariance_model, fit.measures=TRUE, standardized=TRUE, rsquare = TRUE)
1
2
3
4
5
6
7
8
9
10
11
> anova(configural_model, metric_model, scalar_model, error_variance_model, latent_variance_model, latent_covariance_model)

Chi-Squared Difference Test

Df AIC BIC Chisq Chisq diff RMSEA Df diff Pr(>Chisq)
configural_model 66 8216.7 8419.3 79.129
metric_model 75 8205.9 8380.0 86.297 7.1688 0.000000 9 0.6196
scalar_model 83 8193.3 8342.0 89.687 3.3898 0.000000 8 0.9076
error_variance_model 93 8178.4 8295.5 94.812 5.1252 0.000000 10 0.8827
latent_variance_model 95 8177.7 8288.5 98.131 3.3185 0.086801 2 0.1903
latent_covariance_model 96 8176.8 8284.4 99.187 1.0564 0.025385 1 0.3040

潜变量协方差等价模型嵌套于潜变量方差等价模型,可以使用嵌套模型的比较方法。

可以看出两个模型的卡方值的差值Chisq diff为1.0564,自由度的差值Df diff为1,表明两个模型的卡方差异不显著。可以接受潜变量协方差等价模型,即认为不同性别之间满足潜变量协方差等价条件。

潜变量的均值等价模型

1
2
3
# 潜变量均值等价
latent_mean_model <- cfa(model3, data=analysis_data_withgender, group="V14", group.equal=c("loadings", "intercepts", "residuals", "lv.variances", "lv.covariances", "means"))
summary(latent_mean_model, fit.measures=TRUE, standardized=TRUE, rsquare = TRUE)
1
2
3
4
5
6
7
8
9
10
11
12
> anova(configural_model, metric_model, scalar_model, error_variance_model, latent_variance_model, latent_covariance_model, latent_mean_model)

Chi-Squared Difference Test

Df AIC BIC Chisq Chisq diff RMSEA Df diff Pr(>Chisq)
configural_model 66 8216.7 8419.3 79.129
metric_model 75 8205.9 8380.0 86.297 7.1688 0.000000 9 0.6196
scalar_model 83 8193.3 8342.0 89.687 3.3898 0.000000 8 0.9076
error_variance_model 93 8178.4 8295.5 94.812 5.1252 0.000000 10 0.8827
latent_variance_model 95 8177.7 8288.5 98.131 3.3185 0.086801 2 0.1903
latent_covariance_model 96 8176.8 8284.4 99.187 1.0564 0.025385 1 0.3040
latent_mean_model 98 8173.4 8274.6 99.777 0.5901 0.000000 2 0.7445

潜变量均值等价模型嵌套于潜变量协方差等价,可以使用嵌套模型的比较方法。

可以看出两个模型的卡方值的差值Chisq diff为0.5901,自由度的差值Df diff为2,表明两个模型的卡方差异不显著。可以接受潜变量均值等价模型,即认为不同性别之间满足潜变量均值等价条件。

路径分析

导入包与数据

1
2
3
4
5
6
7
8
9
10
11
12
# 导入包
library(psych)
library(lavaan)
library(tidySEM)

# 导入数据
setwd("/Users/nanxu/研究生课程作业/心理统计/课件数据/9第九章 路径分析/")
data <- read.table("./9_1_dataPA.dat", header = FALSE, sep = "", na.strings = "NA")

# 查看数据
names(data)
dim(data)

数据介绍

1
2
3
# 描述数据
summary(data)
# describe(data)
1
2
3
# 计算相关系数矩阵
cor_matrix <- cor(data, use="complete.obs")
cor.plot(cor_matrix)

相关矩阵

饱和的递归模型

1
2
3
4
5
6
7
8
9
10
11
12
13
14
15
16
17
18
19
20
21
22
23
24
25
26
27
28
29
30
31
32
33
# 定义模型
model1 <- '
# 因果关系
V3 ~ V1 + V2
V4 ~ V1 + V2 + V3
V5 ~ V1 + V2 + V3 + V4

# 协方差
V1 ~~ V2

# 指定残差
V3 ~~ V3
V4 ~~ V4
V5 ~~ V5

# 显式请求截距
V3 ~1
V4 ~1
V5 ~1
'

# 拟合模型
fit1 <- sem(model1, data=data)
summary(fit1, fit.measures=TRUE, standardized=TRUE)

# 可视化
layout_matrix <- matrix(NA, nrow = 3, ncol = 3, dimnames = list(NULL, NULL))
layout_matrix[1, 2] <- "V2"
layout_matrix[2, 1] <- "V1"
layout_matrix[2, 3] <- "V3"
layout_matrix[3, 1] <- "V4"
layout_matrix[3, 3] <- "V5"
graph_sem(fit1, layout = layout_matrix, text_size = 5)

饱和递归模型

模型拟合结果

1
2
3
4
5
6
7
8
9
10
11
12
13
14
15
16
17
18
19
20
21
22
23
24
25
26
27
28
29
30
31
32
33
34
35
36
Model Test User Model:

Test statistic 0.000
Degrees of freedom 0

Model Test Baseline Model:

Test statistic 165.893
Degrees of freedom 10
P-value 0.000

User Model versus Baseline Model:

Comparative Fit Index (CFI) 1.000
Tucker-Lewis Index (TLI) 1.000

Loglikelihood and Information Criteria:

Loglikelihood user model (H0) -9938.865
Loglikelihood unrestricted model (H1) -9938.865

Akaike (AIC) 19907.729
Bayesian (BIC) 19966.553
Sample-size adjusted Bayesian (SABIC) 19918.962

Root Mean Square Error of Approximation:

RMSEA 0.000
90 Percent confidence interval - lower 0.000
90 Percent confidence interval - upper 0.000
P-value H_0: RMSEA <= 0.050 NA
P-value H_0: RMSEA >= 0.080 NA

Standardized Root Mean Square Residual:

SRMR 0.000

参数估计结果与标准化参数估计结果

1
2
3
4
5
6
7
8
9
10
11
12
13
14
15
16
17
18
19
20
21
22
23
24
25
26
27
28
29
30
31
32
33
34
35
Regressions:
Estimate Std.Err z-value P(>|z|) Std.lv Std.all
V3 ~
V1 0.217 0.026 8.260 0.000 0.217 0.392
V2 0.079 0.046 1.721 0.085 0.079 0.082
V4 ~
V1 -0.014 0.055 -0.261 0.794 -0.014 -0.014
V2 -0.393 0.089 -4.433 0.000 -0.393 -0.223
V3 -0.198 0.099 -1.995 0.046 -0.198 -0.109
V5 ~
V1 0.032 0.048 0.663 0.507 0.032 0.034
V2 -0.122 0.079 -1.533 0.125 -0.122 -0.074
V3 -0.442 0.087 -5.071 0.000 -0.442 -0.260
V4 0.271 0.045 6.005 0.000 0.271 0.291

Covariances:
Estimate Std.Err z-value P(>|z|) Std.lv Std.all
V1 ~~
V2 -75.607 130.551 -0.579 0.562 -75.607 -0.030

Intercepts:
Estimate Std.Err z-value P(>|z|) Std.lv Std.all
.V3 58.217 2.050 28.399 0.000 58.217 1.584
.V4 18.685 6.993 2.672 0.008 18.685 0.279
.V5 743.742 6.158 120.772 0.000 743.742 11.916
V1 40.900 3.439 11.894 0.000 40.900 0.616
V2 0.000 1.965 0.000 1.000 0.000 0.000

Variances:
Estimate Std.Err z-value P(>|z|) Std.lv Std.all
.V3 1136.158 83.195 13.657 0.000 1136.158 0.841
.V4 4181.001 306.155 13.657 0.000 4181.001 0.934
.V5 3181.454 232.963 13.657 0.000 3181.454 0.817
V1 4410.394 322.952 13.657 0.000 4410.394 1.000
V2 1440.129 105.454 13.657 0.000 1440.129 1.000

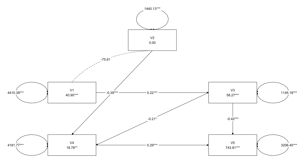
可以看出V1 ~ V4V2 ~ V3V1 ~ V5V2 ~ V5路径不显著,可以考虑后续模型修正。

间接因果效应计算

1
2
3
4
5
6
7
8
9
10
11
12
13
14
15
16
17
18
19
20
21
22
23
24
25
26
27
28
29
30
31
32
33
34
35
36
37
38
39
40
41
42
43
44
45
46
47
48
# 计算间接效应
model2 <- '
# 因果关系
V3 ~ c1*V1 + c2*V2
V4 ~ b1*V1 + b2*V2 + b3*V3
V5 ~ a1*V1 + a2*V2 + a3*V3 + a4*V4

# 协方差
V1 ~~ V2

# 指定残差
V3 ~~ e3*V3
V4 ~~ e4*V4
V5 ~~ e5*V5

# 显式请求截距
V3 ~1
V4 ~1
V5 ~1

# 计算间接效应
# 间接效应: V1到V4通过V3
ind_V1_V4 := c1 * b3
# 间接效应: V1到V5通过V3和V4
ind_V1_V5 := a4 * (ind_V1_V4 + b1) + a3 * c1
# 间接效应: V2到V4通过V3
ind_V2_V4 := c2 * b3
# 间接效应: V2到V5通过V3和V4
ind_V2_V5 := a4 * (ind_V2_V4 + b2) + a3 * c2
# 间接效应: V3到V5通过V4
ind_V3_V5 := b3 * a4

# 计算总效应
# 总效应: V1到V4
total_V1_V4 := b1 + ind_V1_V4
# 总效应: V1到V5
total_V1_V5 := a1 + ind_V1_V5
# 总效应: V2到V4
total_V2_V4 := b2 + ind_V2_V4
# 总效应: V2到V5
total_V2_V5 := a2 + ind_V2_V5
# 总效应: V3到V5
total_V3_V5 := a3 + ind_V3_V5
'

# 拟合模型
fit2 <- sem(model2, data=data)
summary(fit2, fit.measures=TRUE, standardized=TRUE)

间接效应与直接效应的估计值与标准化估计值

1
2
3
4
5
6
7
8
9
10
11
12
Defined Parameters:
Estimate Std.Err z-value P(>|z|) Std.lv Std.all
ind_V1_V4 -0.043 0.022 -1.939 0.052 -0.043 -0.043
ind_V1_V5 -0.112 0.027 -4.181 0.000 -0.112 -0.119
ind_V2_V4 -0.016 0.012 -1.303 0.192 -0.016 -0.009
ind_V2_V5 -0.146 0.038 -3.822 0.000 -0.146 -0.089
ind_V3_V5 -0.054 0.028 -1.893 0.058 -0.054 -0.032
total_V1_V4 -0.057 0.051 -1.132 0.258 -0.057 -0.057
total_V1_V5 -0.080 0.048 -1.666 0.096 -0.080 -0.085
total_V2_V4 -0.409 0.089 -4.604 0.000 -0.409 -0.232
total_V2_V5 -0.267 0.084 -3.191 0.001 -0.267 -0.163
total_V3_V5 -0.496 0.091 -5.461 0.000 -0.496 -0.292

非饱和的递归模型

删去V2V3路径以及V1V4路径

1
2
3
4
5
6
7
8
9
10
11
12
13
14
15
16
17
18
19
20
21
22
23
24
25
26
27
28
29
30
31
32
33
34
35
36
37
38
39
40
41
42
43
44
45
46
47
48
49
50
# 非饱和递归模型
model3 <- '
# 因果关系
V3 ~ c1*V1
V4 ~ b2*V2 + b3*V3
V5 ~ a1*V1 + a2*V2 + a3*V3 + a4*V4

# 协方差
V1 ~~ V2

# 指定残差
V3 ~~ e3*V3
V4 ~~ e4*V4
V5 ~~ e5*V5

# 显式请求截距
V3 ~1
V4 ~1
V5 ~1

# 计算间接效应
# 间接效应: V1到V4通过V3
ind_V1_V4 := c1 * b3
# 间接效应: V1到V5通过V3和V4
ind_V1_V5 := c1 * b3 * a4 + c1 * a3
# 间接效应: V2到V5通过V4
ind_V2_V5 := b2 * a4
# 间接效应: V3到V5通过V4
ind_V3_V5 := b3 * a4

# 计算总效应
# 总效应: V1到V5
total_V1_V5 := a1 + ind_V1_V5
# 总效应: V2到V5
total_V2_V5 := a2 + ind_V2_V5
# 总效应: V3到V5
total_V3_V5 := a3 + ind_V3_V5
'

fit3 <- sem(model3, data=data)
summary(fit3, fit.measures=TRUE, standardized=TRUE, estimates=TRUE)

# 可视化
layout_matrix <- matrix(NA, nrow = 3, ncol = 3, dimnames = list(NULL, NULL))
layout_matrix[1, 2] <- "V2"
layout_matrix[2, 1] <- "V1"
layout_matrix[2, 3] <- "V3"
layout_matrix[3, 1] <- "V4"
layout_matrix[3, 3] <- "V5"
graph_sem(fit3, layout = layout_matrix, text_size = 5)

非饱和递归模型

模型拟合结果

1
2
3
4
5
6
7
8
9
10
11
12
13
14
15
16
17
18
19
20
21
22
23
24
25
26
27
28
29
30
31
32
33
34
35
36
37
Model Test User Model:

Test statistic 3.019
Degrees of freedom 2
P-value (Chi-square) 0.221

Model Test Baseline Model:

Test statistic 165.893
Degrees of freedom 10
P-value 0.000

User Model versus Baseline Model:

Comparative Fit Index (CFI) 0.993
Tucker-Lewis Index (TLI) 0.967

Loglikelihood and Information Criteria:

Loglikelihood user model (H0) -9940.374
Loglikelihood unrestricted model (H1) -9938.865

Akaike (AIC) 19916.748
Bayesian (BIC) 19987.337
Sample-size adjusted Bayesian (SABIC) 19930.228

Root Mean Square Error of Approximation:

RMSEA 0.037
90 Percent confidence interval - lower 0.000
90 Percent confidence interval - upper 0.116
P-value H_0: RMSEA <= 0.050 0.493
P-value H_0: RMSEA >= 0.080 0.237

Standardized Root Mean Square Residual:

SRMR 0.020

参数估计结果与标准化参数估计结果

1
2
3
4
5
6
7
8
9
10
11
12
13
14
15
16
17
18
19
20
21
22
23
24
25
26
27
28
29
30
31
32
33
34
35
36
37
38
39
40
41
42
43
Regressions:
Estimate Std.Err z-value P(>|z|) Std.lv Std.all
V3 ~
V1 (c1) 0.216 0.026 8.180 0.000 0.216 0.390
V4 ~
V2 (b2) -0.391 0.088 -4.436 0.000 -0.391 -0.222
V3 (b3) -0.208 0.091 -2.287 0.022 -0.208 -0.115
V5 ~
V1 (a1) 0.032 0.048 0.664 0.507 0.032 0.034
V2 (a2) -0.122 0.079 -1.539 0.124 -0.122 -0.074
V3 (a3) -0.442 0.087 -5.088 0.000 -0.442 -0.261
V4 (a4) 0.271 0.045 6.006 0.000 0.271 0.291

Covariances:
Estimate Std.Err z-value P(>|z|) Std.lv Std.all
V1 ~~
V2 -75.607 130.551 -0.579 0.562 -75.607 -0.030

Intercepts:
Estimate Std.Err z-value P(>|z|) Std.lv Std.all
.V3 58.273 2.058 28.318 0.000 58.273 1.586
.V4 18.783 6.971 2.695 0.007 18.783 0.281
.V5 743.742 6.146 121.004 0.000 743.742 11.954
V1 40.900 3.439 11.894 0.000 40.900 0.616
V2 0.000 1.965 0.000 1.000 0.000 0.000

Variances:
Estimate Std.Err z-value P(>|z|) Std.lv Std.all
.V3 (e3) 1145.182 83.856 13.657 0.000 1145.182 0.848
.V4 (e4) 4181.767 306.211 13.657 0.000 4181.767 0.938
.V5 (e5) 3181.453 232.963 13.657 0.000 3181.453 0.822
V1 4410.394 322.952 13.657 0.000 4410.394 1.000
V2 1440.129 105.454 13.657 0.000 1440.129 1.000

Defined Parameters:
Estimate Std.Err z-value P(>|z|) Std.lv Std.all
ind_V1_V4 -0.045 0.020 -2.203 0.028 -0.045 -0.045
ind_V1_V5 -0.108 0.023 -4.593 0.000 -0.108 -0.115
ind_V2_V5 -0.106 0.030 -3.568 0.000 -0.106 -0.065
ind_V3_V5 -0.057 0.026 -2.137 0.033 -0.057 -0.033
total_V1_V5 -0.076 0.046 -1.640 0.101 -0.076 -0.081
total_V2_V5 -0.228 0.081 -2.824 0.005 -0.228 -0.139
total_V3_V5 -0.498 0.090 -5.550 0.000 -0.498 -0.294

可以看出V1 ~ V5V2 ~ V5路径不显著,可以考虑后续模型修正。

1
2
3
4
5
6
7
> anova(fit2, fit3)

Chi-Squared Difference Test

Df AIC BIC Chisq Chisq diff RMSEA Df diff Pr(>Chisq)
fit2 0 19918 19996 0.000
fit3 2 19917 19987 3.019 3.0189 0.036958 2 0.221

非饱和模型的卡方值Chisq为3.019,p值Pr(>Chisq)为0.221,即在0.05水平上不显著

但是RMSEA、CFI、TLI都达到了模型良好拟合的判断标准,而且相比饱和模型的拟合指数相比变化量更小,表明删去路径后非饱和模型能比饱和模型能够更好地拟合数据,统计上可以接受零假设,因此对原饱和模型进行修正,用该非饱和模型进行替代

删去V1V5路径以及V2V5路径

1
2
3
4
5
6
7
8
9
10
11
12
13
14
15
16
17
18
19
20
21
22
23
24
25
26
27
28
29
30
31
32
33
34
35
36
37
38
39
40
41
42
43
44
45
46
# 修正模型
model4 <- '
# 因果关系
V3 ~ c1*V1
V4 ~ b2*V2 + b3*V3
V5 ~ a3*V3 + a4*V4

# 协方差
V1 ~~ V2

# 指定残差
V3 ~~ e3*V3
V4 ~~ e4*V4
V5 ~~ e5*V5

# 显式请求截距
V3 ~1
V4 ~1
V5 ~1

# 计算间接效应
# 间接效应: V1到V4通过V3
ind_V1_V4 := c1*b3
# 间接效应: V1到V5通过V3和V4
ind_V1_V5 := c1 * b3 * a4 + c1 * a3
# 间接效应: V2到V5通过V4
ind_V2_V5 := b2 * a4
# 间接效应: V3到V5通过V4
ind_V3_V5 := b3 * a4

# 计算总效应
# 总效应: V3到V5
total_V3_V5 := a3 + ind_V3_V5
'

fit4 <- sem(model4, data=data)
summary(fit4, fit.measures=TRUE, standardized=TRUE, estimates=TRUE)

# 可视化
layout_matrix <- matrix(NA, nrow = 3, ncol = 3, dimnames = list(NULL, NULL))
layout_matrix[1, 2] <- "V2"
layout_matrix[2, 1] <- "V1"
layout_matrix[2, 3] <- "V3"
layout_matrix[3, 1] <- "V4"
layout_matrix[3, 3] <- "V5"
graph_sem(fit4, layout = layout_matrix, text_size = 5)

非饱和模型

模型拟合结果

1
2
3
4
5
6
7
8
9
10
11
12
13
14
15
16
17
18
19
20
21
22
23
24
25
26
27
28
29
30
31
32
33
34
35
36
37
Model Test User Model:

Test statistic 5.938
Degrees of freedom 4
P-value (Chi-square) 0.204

Model Test Baseline Model:

Test statistic 165.893
Degrees of freedom 10
P-value 0.000

User Model versus Baseline Model:

Comparative Fit Index (CFI) 0.988
Tucker-Lewis Index (TLI) 0.969

Loglikelihood and Information Criteria:

Loglikelihood user model (H0) -9941.834
Loglikelihood unrestricted model (H1) -9938.865

Akaike (AIC) 19915.667
Bayesian (BIC) 19978.412
Sample-size adjusted Bayesian (SABIC) 19927.649

Root Mean Square Error of Approximation:

RMSEA 0.036
90 Percent confidence interval - lower 0.000
90 Percent confidence interval - upper 0.092
P-value H_0: RMSEA <= 0.050 0.582
P-value H_0: RMSEA >= 0.080 0.113

Standardized Root Mean Square Residual:

SRMR 0.029

参数估计结果与标准化参数估计结果

1
2
3
4
5
6
7
8
9
10
11
12
13
14
15
16
17
18
19
20
21
22
23
24
25
26
27
28
29
30
31
32
33
34
35
36
37
38
39
Regressions:
Estimate Std.Err z-value P(>|z|) Std.lv Std.all
V3 ~
V1 (c1) 0.216 0.026 8.180 0.000 0.216 0.390
V4 ~
V2 (b2) -0.391 0.088 -4.436 0.000 -0.391 -0.222
V3 (b3) -0.208 0.091 -2.287 0.022 -0.208 -0.115
V5 ~
V3 (a3) -0.424 0.080 -5.287 0.000 -0.424 -0.250
V4 (a4) 0.287 0.044 6.489 0.000 0.287 0.307

Covariances:
Estimate Std.Err z-value P(>|z|) Std.lv Std.all
V1 ~~
V2 -75.607 130.551 -0.579 0.562 -75.607 -0.030

Intercepts:
Estimate Std.Err z-value P(>|z|) Std.lv Std.all
.V3 58.273 2.058 28.318 0.000 58.273 1.586
.V4 18.783 6.971 2.695 0.007 18.783 0.281
.V5 743.808 6.158 120.790 0.000 743.808 11.936
V1 40.900 3.439 11.894 0.000 40.900 0.616
V2 0.000 1.965 0.000 1.000 0.000 0.000

Variances:
Estimate Std.Err z-value P(>|z|) Std.lv Std.all
.V3 (e3) 1145.182 83.856 13.657 0.000 1145.182 0.848
.V4 (e4) 4181.767 306.211 13.657 0.000 4181.767 0.938
.V5 (e5) 3206.449 234.793 13.657 0.000 3206.449 0.826
V1 4410.394 322.952 13.657 0.000 4410.394 1.000
V2 1440.129 105.454 13.657 0.000 1440.129 1.000

Defined Parameters:
Estimate Std.Err z-value P(>|z|) Std.lv Std.all
ind_V1_V4 -0.045 0.020 -2.203 0.028 -0.045 -0.045
ind_V1_V5 -0.105 0.022 -4.714 0.000 -0.105 -0.111
ind_V2_V5 -0.112 0.031 -3.662 0.000 -0.112 -0.068
ind_V3_V5 -0.060 0.028 -2.157 0.031 -0.060 -0.035
total_V3_V5 -0.484 0.084 -5.768 0.000 -0.484 -0.286
1
2
3
4
5
6
7
8
> anova(fit2, fit3, fit4)

Chi-Squared Difference Test

Df AIC BIC Chisq Chisq diff RMSEA Df diff Pr(>Chisq)
fit2 0 19918 19996 0.0000
fit3 2 19917 19987 3.0190 3.0189 0.036958 2 0.2210
fit4 4 19916 19978 5.9377 2.9188 0.035094 2 0.2324

结构方程模型

导入包与数据

1
2
3
4
5
6
7
8
9
10
11
# 导入包
library(lavaan)
library(tidySEM)

# 导入数据
setwd("/Users/nanxu/研究生课程作业/心理统计/课件数据/10第十章 结构方程模型/")
data <- read.table("./10_1.dat", header = FALSE, sep = "", na.strings = "NA")

# 查看数据
names(data)
dim(data)

数据介绍

1
2
3
4
5
6
7
8
9
10
11
12
13
14
15
16
17
18
19
20
# 数据名称
# work1 -- V1
# work2 -- V2
# ee1 -- V3
# ee2 -- V4
# ee3 -- V5
# dpl1 -- V6
# dpl2 -- V7
# pa1 -- V8
# pa2 -- V9
# pa3 -- V10
# Gender -- V11

# 重命名数据集中的变量
names(data) <- c("work1", "work2", "ee1", "ee2", "ee3", "dpl1", "dpl2", "pa1", "pa2", "pa3", "Gender")
data$Gender <- factor(data$Gender, levels = c(1, 2), labels = c("male", "female"))
table(data$Gender) # 查看性别分布

# 描述数据
summary(data)

结构方程模型

1
2
3
4
5
6
7
8
9
10
11
12
13
14
15
16
17
18
19
20
21
22
23
24
25
26
27
28
29
30
31
32
33
34
35
36
37
38
39
40
41
42
43
44
45
46
47
48
49
50
# 定义模型
model <- '
# 测量模型
EE =~ ee1 + ee2 + ee3 # EE 由 ee1, ee2, ee3 测量
D =~ dpl1 + dpl2 # D 由 dpl1, dpl2 测量
PA =~ pa1 + pa2 + pa3 # PA 由 pa1, pa2, pa3 测量
WO =~ work1 + work2 # WO 由 work1, work2 测量

# 结构模型
EE ~ WO # EE 被 WO 预测
D ~ EE # D 被 EE 预测
PA ~ EE # PA 被 EE 预测

# 协方差
PA ~~ D # PA 和 D 之间的协方差

# 截距
ee1 ~ 1
ee2 ~ 1
ee3 ~ 1
dpl1 ~ 1
dpl2 ~ 1
pa1 ~ 1
pa2 ~ 1
pa3 ~ 1
work1 ~ 1
work2 ~ 1
'

# 拟合模型
fit <- sem(model, data=data)
summary(fit, fit.measures=TRUE, standardized=TRUE, rsquare=TRUE)

# 可视化
layout_matrix <- matrix(NA, nrow = 4, ncol = 6, dimnames = list(NULL, NULL))
layout_matrix[1, 1] <- "work1"
layout_matrix[2, 1] <- "work2"
layout_matrix[2, 2] <- "WO"
layout_matrix[3, 3] <- "EE"
layout_matrix[3, 2] <- "ee1"
layout_matrix[4, 2] <- "ee2"
layout_matrix[4, 3] <- "ee3"
layout_matrix[2, 4] <- "PA"
layout_matrix[1, 3] <- "pa1"
layout_matrix[1, 4] <- "pa2"
layout_matrix[1, 5] <- "pa3"
layout_matrix[4, 5] <- "dpl1"
layout_matrix[4, 6] <- "dpl2"
layout_matrix[3, 5] <- "D"
graph_sem(fit, layout = layout_matrix, text_size = 5)

结构方程模型

模型拟合结果

1
2
3
4
5
6
7
8
9
10
11
12
13
14
15
16
17
18
19
20
21
22
23
24
25
26
27
28
29
30
31
32
33
34
35
36
37
Model Test User Model:

Test statistic 301.492
Degrees of freedom 31
P-value (Chi-square) 0.000

Model Test Baseline Model:

Test statistic 7493.700
Degrees of freedom 45
P-value 0.000

User Model versus Baseline Model:

Comparative Fit Index (CFI) 0.964
Tucker-Lewis Index (TLI) 0.947

Loglikelihood and Information Criteria:

Loglikelihood user model (H0) -18293.991
Loglikelihood unrestricted model (H1) -18143.245

Akaike (AIC) 36655.982
Bayesian (BIC) 36835.006
Sample-size adjusted Bayesian (SABIC) 36727.000

Root Mean Square Error of Approximation:

RMSEA 0.078
90 Percent confidence interval - lower 0.070
90 Percent confidence interval - upper 0.086
P-value H_0: RMSEA <= 0.050 0.000
P-value H_0: RMSEA >= 0.080 0.360

Standardized Root Mean Square Residual:

SRMR 0.040

可以看出,卡方值为301.492,自由度为31,CFI值为0.964,TLI值为0.947,RMSEA值为0.078,表明模型拟合较好。

模型估计结果

1
2
3
4
5
6
7
8
9
10
11
12
13
14
15
16
17
18
19
20
21
22
23
24
25
26
27
28
29
30
31
32
33
34
35
36
37
38
39
40
41
42
43
44
45
46
47
48
49
50
51
52
53
54
55
56
57
58
59
60
61
62
63
64
65
66
67
68
69
70
71
72
73
74
75
76
Latent Variables:
Estimate Std.Err z-value P(>|z|) Std.lv Std.all
EE =~
ee1 1.000 1.146 0.875
ee2 1.017 0.021 48.938 0.000 1.166 0.927
ee3 0.963 0.023 42.771 0.000 1.104 0.851
D =~
dpl1 1.000 0.947 0.865
dpl2 0.941 0.044 21.591 0.000 0.891 0.754
PA =~
pa1 1.000 0.738 0.809
pa2 1.076 0.036 29.617 0.000 0.794 0.825
pa3 0.979 0.035 27.854 0.000 0.723 0.750
WO =~
work1 1.000 1.007 0.838
work2 0.652 0.039 16.585 0.000 0.656 0.602

Regressions:
Estimate Std.Err z-value P(>|z|) Std.lv Std.all
EE ~
WO 0.766 0.046 16.490 0.000 0.673 0.673
D ~
EE 0.462 0.024 19.325 0.000 0.559 0.559
PA ~
EE -0.262 0.019 -13.776 0.000 -0.408 -0.408

Covariances:
Estimate Std.Err z-value P(>|z|) Std.lv Std.all
.D ~~
.PA -0.174 0.019 -8.950 0.000 -0.328 -0.328

Intercepts:
Estimate Std.Err z-value P(>|z|) Std.lv Std.all
.ee1 3.855 0.035 111.347 0.000 3.855 2.944
.ee2 3.530 0.033 106.201 0.000 3.530 2.808
.ee3 3.165 0.034 92.281 0.000 3.165 2.440
.dpl1 2.319 0.029 80.113 0.000 2.319 2.119
.dpl2 2.086 0.031 66.763 0.000 2.086 1.765
.pa1 5.748 0.024 238.172 0.000 5.748 6.298
.pa2 5.850 0.025 229.759 0.000 5.850 6.076
.pa3 5.815 0.025 228.188 0.000 5.815 6.034
.work1 3.240 0.032 101.996 0.000 3.240 2.697
.work2 2.243 0.029 77.885 0.000 2.243 2.060

Variances:
Estimate Std.Err z-value P(>|z|) Std.lv Std.all
.ee1 0.400 0.021 19.017 0.000 0.400 0.234
.ee2 0.222 0.017 13.108 0.000 0.222 0.140
.ee3 0.463 0.022 20.743 0.000 0.463 0.275
.dpl1 0.302 0.037 8.137 0.000 0.302 0.252
.dpl2 0.603 0.039 15.621 0.000 0.603 0.432
.pa1 0.288 0.017 16.743 0.000 0.288 0.346
.pa2 0.296 0.019 15.573 0.000 0.296 0.320
.pa3 0.406 0.020 20.150 0.000 0.406 0.438
.work1 0.429 0.054 7.876 0.000 0.429 0.297
.work2 0.756 0.036 21.071 0.000 0.756 0.637
.EE 0.719 0.048 15.109 0.000 0.547 0.547
.D 0.616 0.044 14.058 0.000 0.687 0.687
.PA 0.454 0.028 16.485 0.000 0.834 0.834
WO 1.014 0.073 13.851 0.000 1.000 1.000

R-Square:
Estimate
ee1 0.766
ee2 0.860
ee3 0.725
dpl1 0.748
dpl2 0.568
pa1 0.654
pa2 0.680
pa3 0.562
work1 0.703
work2 0.363
EE 0.453
D 0.313
PA 0.166

结构方程模型多组比较

不同性别分别拟合模型

1
2
3
4
5
6
7
8
9
10
11
12
# 不同性别分别拟合模型
# 分别提取男性和女性的数据
data_male <- subset(data, Gender == "male")
data_female <- subset(data, Gender == "female")

# 对男性数据拟合模型
fit_male <- cfa(model, data = data_male)
summary(fit_male, fit.measures = TRUE, standardized = TRUE, rsquare = TRUE)

# 对女性数据拟合模型
fit_female <- cfa(model, data = data_female)
summary(fit_female, fit.measures = TRUE, standardized = TRUE, rsquare = TRUE)
1
2
3
4
5
6
7
8
9
10
11
12
13
14
15
16
17
18
19
20
21
22
23
24
25
26
27
28
29
30
31
32
33
34
35
36
37
38
39
40
41
> summary(fit_male, fit.measures = TRUE, standardized = TRUE, rsquare = TRUE)

Model Test User Model:

Test statistic 201.953
Degrees of freedom 31
P-value (Chi-square) 0.000

User Model versus Baseline Model:

Comparative Fit Index (CFI) 0.954
Tucker-Lewis Index (TLI) 0.933

Root Mean Square Error of Approximation:

RMSEA 0.088
90 Percent confidence interval - lower 0.077
90 Percent confidence interval - upper 0.100
P-value H_0: RMSEA <= 0.050 0.000
P-value H_0: RMSEA >= 0.080 0.878

> summary(fit_female, fit.measures = TRUE, standardized = TRUE, rsquare = TRUE)

Model Test User Model:

Test statistic 157.743
Degrees of freedom 31
P-value (Chi-square) 0.000

User Model versus Baseline Model:

Comparative Fit Index (CFI) 0.967
Tucker-Lewis Index (TLI) 0.951

Root Mean Square Error of Approximation:

RMSEA 0.076
90 Percent confidence interval - lower 0.064
90 Percent confidence interval - upper 0.087
P-value H_0: RMSEA <= 0.050 0.000
P-value H_0: RMSEA >= 0.080 0.276

结构模式相同模型(基线模型)

1
2
3
# 拟合基线模型(不包含等价约束)
fit_baseline <- sem(model, data = data, group = "Gender")
summary(fit_baseline, fit.measures=TRUE, standardized=TRUE, rsquare=TRUE)
1
2
3
4
5
6
7
8
9
10
11
12
13
14
15
16
17
18
19
20
21
22
23
> summary(fit_baseline, fit.measures=TRUE, standardized=TRUE, rsquare=TRUE)

Model Test User Model:

Test statistic 359.696
Degrees of freedom 62
P-value (Chi-square) 0.000
Test statistic for each group:
female 157.743
male 201.953

User Model versus Baseline Model:

Comparative Fit Index (CFI) 0.960
Tucker-Lewis Index (TLI) 0.942

Root Mean Square Error of Approximation:

RMSEA 0.082
90 Percent confidence interval - lower 0.074
90 Percent confidence interval - upper 0.090
P-value H_0: RMSEA <= 0.050 0.000
P-value H_0: RMSEA >= 0.080 0.662

可以看出RMSEA值为0.082,CFI的值为0.960,TLI的值为0.942,卡方值为359.696,自由度为62,表明模型拟合较好。该模型作为基线模型,用于检验其他等价性条件是否满足。

测量模型:因素载荷等价模型(弱等价性)

1
2
3
4
# 测量模型部分 - 因素载荷等价
fit_metric <- update(fit_baseline, group.equal = "loadings")
summary(fit_metric, fit.measures=TRUE, standardized=TRUE, rsquare=TRUE)
anova(fit_baseline, fit_metric)
1
2
3
4
5
6
7
> anova(fit_baseline, fit_metric)

Chi-Squared Difference Test

Df AIC BIC Chisq Chisq diff RMSEA Df diff Pr(>Chisq)
fit_baseline 62 36683 37041 359.70
fit_metric 68 36675 37002 364.27 4.5749 0 6 0.5994

弱等价性模型嵌套于基线模型,可以使用嵌套模型的比较方法。

可以看出两个模型的卡方值的差值Chisq diff为4.5749,自由度的差值Df diff为6,表明两个模型的卡方差异不显著。可以接受弱等价模型,即认为不同性别之间满足因素载荷等价条件。

测量模型:误差协方差矩阵等价模型

1
2
3
4
# 测量模型部分 - 误差协方差矩阵等价
fit_residuals <- update(fit_metric, group.equal = c("loadings", "residuals"))
summary(fit_residuals, fit.measures=TRUE, standardized=TRUE, rsquare=TRUE)
anova(fit_baseline, fit_metric, fit_residuals)
1
2
3
4
5
6
7
8
> anova(fit_baseline, fit_metric, fit_residuals)

Chi-Squared Difference Test

Df AIC BIC Chisq Chisq diff RMSEA Df diff Pr(>Chisq)
fit_baseline 62 36683 37041 359.70
fit_metric 68 36675 37002 364.27 4.5749 0.000000 6 0.5994
fit_residuals 78 36670 36944 379.52 15.2466 0.027089 10 0.1233

可以看出两个模型的卡方值的差值Chisq diff为15.2466,自由度的差值Df diff为10,表明两个模型的卡方差异不显著。可以接受误差方差等价模型,即认为不同性别之间满足误差方差等价条件。

测量模型:截距等价模型

1
2
3
fit_scalar <- update(fit_residuals, group.equal = c("loadings", "residuals", "intercepts"))
summary(fit_scalar, fit.measures=TRUE, standardized=TRUE, rsquare=TRUE)
anova(fit_baseline, fit_metric, fit_residuals, fit_scalar)
1
2
3
4
5
6
7
8
9
> anova(fit_baseline, fit_metric, fit_residuals, fit_scalar)

Chi-Squared Difference Test

Df AIC BIC Chisq Chisq diff RMSEA Df diff Pr(>Chisq)
fit_baseline 62 36683 37041 359.70
fit_metric 68 36675 37002 364.27 4.5749 0.000000 6 0.5994
fit_residuals 78 36670 36944 379.52 15.2466 0.027089 10 0.1233
fit_scalar 84 36663 36905 384.07 4.5511 0.000000 6 0.6025

可以看出两个模型的卡方值的差值Chisq diff为4.5511,自由度的差值Df diff为6,表明两个模型的卡方差异不显著。可以接受强等价模型,即认为不同性别之间满足截距等价条件。

结构模型:潜变量路径系数等价模型

1
2
3
4
# 潜变量相关或回归系数等价性检验
fit_structural <- update(fit_scalar, group.equal = c("loadings", "residuals", "intercepts", "regressions"))
summary(fit_structural, fit.measures = TRUE, standardized = TRUE, rsquare = TRUE)
anova(fit_baseline, fit_metric, fit_residuals, fit_scalar, fit_structural)
1
2
3
4
5
6
7
8
9
10
> anova(fit_baseline, fit_metric, fit_residuals, fit_scalar, fit_structural)

Chi-Squared Difference Test

Df AIC BIC Chisq Chisq diff RMSEA Df diff Pr(>Chisq)
fit_baseline 62 36683 37041 359.70
fit_metric 68 36675 37002 364.27 4.5749 0.000000 6 0.5994
fit_residuals 78 36670 36944 379.52 15.2466 0.027089 10 0.1233
fit_scalar 84 36663 36905 384.07 4.5511 0.000000 6 0.6025
fit_structural 87 36662 36889 389.60 5.5357 0.034382 3 0.1365

可以看出两个模型的卡方值的差值Chisq diff为5.5357,自由度的差值Df diff为4,表明两个模型的卡方差异不显著。可以接受潜变量路径系数等价模型,即认为不同性别之间满足路径系数等价条件。

结构模型:潜变量协方差矩阵等价模型

1
2
3
4
# 结构模型部分 - 潜变量协方差矩阵等价
fit_covariance <- update(fit_structural, group.equal = c("loadings", "residuals", "intercepts", "regressions", "lv.covariances"))
summary(fit_covariance, fit.measures=TRUE, standardized=TRUE, rsquare=TRUE)
anova(fit_baseline, fit_metric, fit_residuals, fit_scalar, fit_structural, fit_covariance)
1
2
3
4
5
6
7
8
9
10
11
> anova(fit_baseline, fit_metric, fit_residuals, fit_scalar, fit_structural, fit_covariance)

Chi-Squared Difference Test

Df AIC BIC Chisq Chisq diff RMSEA Df diff Pr(>Chisq)
fit_baseline 62 36683 37041 359.70
fit_metric 68 36675 37002 364.27 4.5749 0.000000 6 0.5994
fit_residuals 78 36670 36944 379.52 15.2466 0.027089 10 0.1233
fit_scalar 84 36663 36905 384.07 4.5511 0.000000 6 0.6025
fit_structural 87 36662 36889 389.60 5.5357 0.034382 3 0.1365
fit_covariance 88 36662 36883 391.08 1.4783 0.025865 1 0.2240

可以看出两个模型的卡方值的差值Chisq diff为1.4783,自由度的差值Df diff为1,表明两个模型的卡方差异不显著。可以接受潜变量协方差等价模型,即认为不同性别之间满足潜变量协方差等价条件。

结构模型:潜变量方差等价模型

1
2
3
4
# 结构模型部分 - 潜变量方差等价
fit_variances <- update(fit_covariance, group.equal = c("loadings", "residuals", "intercepts", "regressions", "lv.covariances", "lv.variances"))
summary(fit_variances, fit.measures=TRUE, standardized=TRUE, rsquare=TRUE)
anova(fit_baseline, fit_metric, fit_residuals, fit_scalar, fit_covariance, fit_variances)
1
2
3
4
5
6
7
8
9
10
11
12
> anova(fit_baseline, fit_metric, fit_residuals, fit_scalar, fit_structural, fit_covariance, fit_variances)

Chi-Squared Difference Test

Df AIC BIC Chisq Chisq diff RMSEA Df diff Pr(>Chisq)
fit_baseline 62 36683 37041 359.70
fit_metric 68 36675 37002 364.27 4.5749 0.000000 6 0.5994
fit_residuals 78 36670 36944 379.52 15.2466 0.027089 10 0.1233
fit_scalar 84 36663 36905 384.07 4.5511 0.000000 6 0.6025
fit_structural 87 36662 36889 389.60 5.5357 0.034382 3 0.1365
fit_covariance 88 36662 36883 391.08 1.4783 0.025865 1 0.2240
fit_variances 92 36660 36860 397.44 6.3575 0.028710 4 0.1740

可以看出两个模型的卡方值的差值Chisq diff为6.3575,自由度的差值Df diff为4,表明两个模型的卡方差异不显著。可以接受潜变量方差等价模型,即认为不同性别之间满足潜变量方差等价条件。

结构模型:潜在因素均值等价模型

1
2
3
4
# 结构模型部分 - 潜在因素均值等价
fit_means <- update(fit_variances, group.equal = c("loadings", "residuals", "intercepts", "regressions", "lv.covariances", "lv.variances", "means"))
summary(fit_means, fit.measures=TRUE, standardized=TRUE, rsquare=TRUE)
anova(fit_baseline, fit_metric, fit_residuals, fit_scalar, fit_covariance, fit_means)
1
2
3
4
5
6
7
8
9
10
11
12
13
> anova(fit_baseline, fit_metric, fit_residuals, fit_scalar, fit_structural, fit_covariance, fit_variances, fit_means)

Chi-Squared Difference Test

Df AIC BIC Chisq Chisq diff RMSEA Df diff Pr(>Chisq)
fit_baseline 62 36683 37041 359.70
fit_metric 68 36675 37002 364.27 4.5749 0.000000 6 0.5994
fit_residuals 78 36670 36944 379.52 15.2466 0.027089 10 0.1233
fit_scalar 84 36663 36905 384.07 4.5511 0.000000 6 0.6025
fit_structural 87 36662 36889 389.60 5.5357 0.034382 3 0.1365
fit_covariance 88 36662 36883 391.08 1.4783 0.025865 1 0.2240
fit_variances 92 36660 36860 397.44 6.3575 0.028710 4 0.1740
fit_means 96 36656 36835 401.14 3.6989 0.000000 4 0.4483

可以看出两个模型的卡方值的差值Chisq diff为3.6989,自由度的差值Df diff为4,表明两个模型的卡方差异不显著。可以接受潜变量均值等价模型,即认为不同性别之间满足潜变量均值等价条件。

中介分析

导入包与数据

1
2
3
4
5
6
7
8
9
10
11
12
# 导入包
library(lavaan)
library(tidySEM)
library(blavaan)

# 导入数据
setwd("/Users/nanxu/研究生课程作业/心理统计/课件数据/11第十一章 中介分析/")
data <- read.table("./11_4 med.dat", header = FALSE, sep = "", na.strings = "NA")

# 查看数据
names(data)
dim(data)

数据介绍

1
2
3
4
5
6
7
8
9
10
11
12
13
14
15
16
17
18
19
20
21
22
23
24
25
26
27
28
29
30
# 数据名称
# ID -- V1
# nrel1 -- V2
# nrel2 -- V3
# nrel3 -- V4
# prel1 -- V5
# prel2 -- V6
# prel3 -- V7
# pem1 -- V8
# pem2 -- V9
# pem3 -- V10
# nem1 -- V11
# nem2 -- V12
# nem3 -- V13
# sat1 -- V14
# sat2 -- V15
# sat3 -- V16
# nrel_m -- V17
# prel_m -- V18
# pem_m -- V19
# mem_m -- V20
# sat_m -- V21

# 变量重命名
names(data) <- c("ID", "nrel1", "nrel2", "nrel3", "prel1", "prel2", "prel3",
"pem1", "pem2", "pem3", "nem1", "nem2", "nem3", "sat1", "sat2",
"sat3", "nrel_m", "prel_m", "pem_m", "nem_m", "sat_m")

# 描述数据
summary(data)

中介分析模型

1
2
3
4
5
6
7
8
9
10
11
12
13
14
15
16
17
18
19
20
21
22
23
24
# 定义中介分析模型
med_model <- '
# 直接效应
sat_m ~ a1*pem_m + a2*nem_m + a3*prel_m + a4*nrel_m
pem_m ~ b*prel_m
nem_m ~ c*nrel_m

# 计算间接效应(使用正确的参数定义方式)
# 间接效应: sat_m 对 pem_m 通过 prel_m
ind_pem_sat := b * a1
# 间接效应: sat_m 对 nem_m 通过 nrel_m
ind_nem_sat := c * a2
'

fit <- sem(med_model, data=data)

# 可视化
layout_matrix <- matrix(NA, nrow = 2, ncol = 3, dimnames = list(NULL, NULL))
layout_matrix[1, 1] <- "prel_m"
layout_matrix[1, 3] <- "nrel_m"
layout_matrix[2, 1] <- "pem_m"
layout_matrix[2, 2] <- "sat_m"
layout_matrix[2, 3] <- "nem_m"
graph_sem(fit, layout = layout_matrix, text_size = 5)

中介分析模型

Sobel检验

1
2
fit1 <- sem(med_model, data=data)
summary(fit1, fit.measures=TRUE, standardized=TRUE, rsquare=TRUE)

模型拟合结果

1
2
3
4
5
6
7
8
9
10
11
12
13
14
15
16
17
18
19
20
21
22
23
24
25
26
27
28
29
30
31
32
33
34
35
36
37
Model Test User Model:

Test statistic 2.804
Degrees of freedom 3
P-value (Chi-square) 0.423

Model Test Baseline Model:

Test statistic 109.942
Degrees of freedom 9
P-value 0.000

User Model versus Baseline Model:

Comparative Fit Index (CFI) 1.000
Tucker-Lewis Index (TLI) 1.006

Loglikelihood and Information Criteria:

Loglikelihood user model (H0) -1249.213
Loglikelihood unrestricted model (H1) -1247.811

Akaike (AIC) 2516.426
Bayesian (BIC) 2548.472
Sample-size adjusted Bayesian (SABIC) 2519.938

Root Mean Square Error of Approximation:

RMSEA 0.000
90 Percent confidence interval - lower 0.000
90 Percent confidence interval - upper 0.102
P-value H_0: RMSEA <= 0.050 0.664
P-value H_0: RMSEA >= 0.080 0.135

Standardized Root Mean Square Residual:

SRMR 0.025

可以看出,卡方值为2.804,自由度为3,CFI值为1.000,TLI值为1.006,RMSEA值为0.000,表明模型拟合较好。

参数估计结果与标准化参数估计结果

1
2
3
4
5
6
7
8
9
10
11
12
13
14
15
16
17
18
19
20
21
22
23
Regressions:
Estimate Std.Err z-value P(>|z|) Std.lv Std.all
sat_m ~
pem_m (a1) 0.219 0.060 3.654 0.000 0.219 0.206
nem_m (a2) -0.335 0.061 -5.543 0.000 -0.335 -0.317
prel_m (a3) 0.184 0.062 2.972 0.003 0.184 0.168
nrel_m (a4) -0.121 0.062 -1.966 0.049 -0.121 -0.112
pem_m ~
prel_m (b) 0.256 0.062 4.140 0.000 0.256 0.249
nem_m ~
nrel_m (c) 0.297 0.061 4.907 0.000 0.297 0.291

Variances:
Estimate Std.Err z-value P(>|z|) Std.lv Std.all
.sat_m 1.385 0.121 11.402 0.000 1.385 0.778
.pem_m 1.484 0.130 11.402 0.000 1.484 0.938
.nem_m 1.455 0.128 11.402 0.000 1.455 0.915

R-Square:
Estimate
sat_m 0.222
pem_m 0.062
nem_m 0.085

中介效应检验结果

1
2
3
4
Defined Parameters:
Estimate Std.Err z-value P(>|z|) Std.lv Std.all
ind_pem_sat 0.056 0.020 2.739 0.006 0.056 0.051
ind_nem_sat -0.100 0.027 -3.674 0.000 -0.100 -0.092

两个中介效应结果显著。

Bootstrap检验

1
2
3
4
5
6
7
8
9
10
# Bootstrap检验
fit2 <- sem(med_model, data=data, se="bootstrap", bootstrap=1000)

# 查看模型摘要,包括偏差修正的 bootstrap 置信区间
summary(fit2, fit.measures=TRUE, standardized=TRUE, rsquare=TRUE)

# 查看参数估计,包括不同置信水平的偏差修正的 bootstrap 置信区间
parameterEstimates(fit2, level=0.90, boot.ci.type="bca")
parameterEstimates(fit2, level=0.95, boot.ci.type="bca")
parameterEstimates(fit2, level=0.99, boot.ci.type="bca")

结果呈现了估计值est、90%置信区间、95%置信区间、99%置信区间

1
2
3
4
5
6
7
8
9
10
11
12
13
14
> parameterEstimates(fit2, level=0.90, boot.ci.type="bca")
lhs op rhs label est se z pvalue ci.lower ci.upper
13 ind_pem_sat := b*a1 ind_pem_sat 0.056 0.020 2.803 0.005 0.029 0.096
14 ind_nem_sat := c*a2 ind_nem_sat -0.100 0.027 -3.733 0.000 -0.148 -0.061

> parameterEstimates(fit2, level=0.95, boot.ci.type="bca")
lhs op rhs label est se z pvalue ci.lower ci.upper
13 ind_pem_sat := b*a1 ind_pem_sat 0.056 0.020 2.803 0.005 0.024 0.103
14 ind_nem_sat := c*a2 ind_nem_sat -0.100 0.027 -3.733 0.000 -0.158 -0.054

> parameterEstimates(fit2, level=0.99, boot.ci.type="bca")
lhs op rhs label est se z pvalue ci.lower ci.upper
13 ind_pem_sat := b*a1 ind_pem_sat 0.056 0.020 2.803 0.005 0.016 0.118
14 ind_nem_sat := c*a2 ind_nem_sat -0.100 0.027 -3.733 0.000 -0.183 -0.044

两个中介效应的置信区间均不包括0,说明两个中介效应均在0.10、0.05、0.01水平上显著

MCMC方法

1
2
3
4
5
6
7
8
9
10
fit3 <- bsem(med_model, data = data,
n.chains = 2, # 使用4个MCMC链
burnin = 1000, # 烧入期迭代次数
sample = 30000, # 采样次数
adapt = 1000, # 自适应迭代次数
target = "stan", # 使用 Stan 为MCMC后端
seed = 12345, # 设置随机种子以确保结果的可复现性
save.lvs = FALSE) # 是否保存潜变量分数

summary(fit3)
1
2
3
4
5
6
7
8
9
10
11
12
13
14
15
16
17
18
19
20
21
22
Regressions:
Estimate Post.SD pi.lower pi.upper Rhat Prior
sat_m ~
pem_m (a1) 0.219 0.061 0.101 0.337 1.000 normal(0,10)
nem_m (a2) -0.335 0.061 -0.455 -0.215 1.000 normal(0,10)
prel_m (a3) 0.184 0.063 0.060 0.307 1.000 normal(0,10)
nrel_m (a4) -0.121 0.063 -0.245 0.002 1.000 normal(0,10)
pem_m ~
prel_m (b) 0.257 0.062 0.135 0.378 1.000 normal(0,10)
nem_m ~
nrel_m (c) 0.297 0.061 0.177 0.415 1.000 normal(0,10)

Variances:
Estimate Post.SD pi.lower pi.upper Rhat Prior
.sat_m 1.420 0.126 1.194 1.689 1.000 gamma(1,.5)[sd]
.pem_m 1.503 0.134 1.264 1.791 1.000 gamma(1,.5)[sd]
.nem_m 1.474 0.132 1.238 1.754 1.000 gamma(1,.5)[sd]

Defined Parameters:
Estimate Post.SD pi.lower pi.upper Rhat Prior
ind_pem_sat 0.056 0.021 0.015 0.097
ind_nem_sat -0.099 0.028 -0.154 -0.045

可以看出ind_pem_sat中介效应的95%置信区间估计为[0.015, 0.097],ind_nem_sat中介效应的95%置信区间估计为[-0.154, -0.045]

潜变量中介分析

1
2
3
4
5
6
7
8
9
10
11
12
13
14
15
16
17
18
19
20
21
22
23
24
25
26
27
28
29
30
31
32
33
34
35
36
37
38
39
40
41
42
43
44
45
46
47
48
# 潜变量中介模型
med_latent_model <- '
# 测量模型
nrel =~ nrel1 + nrel2 + nrel3
prel =~ prel1 + prel2 + prel3
nem =~ nem1 + nem2 + nem3
pem =~ pem1 + pem2 + pem3
sat =~ sat1 + sat2 + sat3

# 结构模型
sat ~ a1*pem + a2*nem + a3*prel + a4*nrel
pem ~ b*prel
nem ~ c*nrel

# 间接效应
# sat 对 pem 通过 prel
sat_prel_prel := b * a1
# sat 对 nem 通过 nrel
sat_nrel_nrel := c * a2
'

# 拟合模型
fit3 <- sem(med_latent_model, data=data)
summary(fit3, fit.measures=TRUE, standardized=TRUE, rsquare=TRUE)

# 可视化
layout_matrix <- matrix(NA, nrow = 4, ncol = 11, dimnames = list(NULL, NULL))
layout_matrix[1, 1] <- "prel1"
layout_matrix[1, 2] <- "prel2"
layout_matrix[1, 3] <- "prel3"
layout_matrix[2, 2] <- "prel"
layout_matrix[1, 7] <- "nrel1"
layout_matrix[1, 8] <- "nrel2"
layout_matrix[1, 9] <- "nrel3"
layout_matrix[2, 8] <- "nrel"
layout_matrix[4, 1] <- "pem1"
layout_matrix[4, 2] <- "pem2"
layout_matrix[4, 3] <- "pem3"
layout_matrix[3, 2] <- "pem"
layout_matrix[4, 5] <- "sat1"
layout_matrix[4, 6] <- "sat2"
layout_matrix[4, 7] <- "sat3"
layout_matrix[3, 6] <- "sat"
layout_matrix[4, 9] <- "nem1"
layout_matrix[4, 10] <- "nem2"
layout_matrix[4, 11] <- "nem3"
layout_matrix[3, 10] <- "nem"
graph_sem(fit3, layout = layout_matrix, text_size = 5)

潜变量中介分析

模型拟合结果

1
2
3
4
5
6
7
8
9
10
11
12
13
14
15
16
17
18
19
20
21
22
23
24
25
26
27
28
29
30
31
32
33
34
35
36
37
Model Test User Model:

Test statistic 80.049
Degrees of freedom 83
P-value (Chi-square) 0.571

Model Test Baseline Model:

Test statistic 714.854
Degrees of freedom 105
P-value 0.000

User Model versus Baseline Model:

Comparative Fit Index (CFI) 1.000
Tucker-Lewis Index (TLI) 1.006

Loglikelihood and Information Criteria:

Loglikelihood user model (H0) -7162.602
Loglikelihood unrestricted model (H1) -7122.577

Akaike (AIC) 14399.204
Bayesian (BIC) 14530.950
Sample-size adjusted Bayesian (SABIC) 14413.645

Root Mean Square Error of Approximation:

RMSEA 0.000
90 Percent confidence interval - lower 0.000
90 Percent confidence interval - upper 0.032
P-value H_0: RMSEA <= 0.050 1.000
P-value H_0: RMSEA >= 0.080 0.000

Standardized Root Mean Square Residual:

SRMR 0.043

参数估计结果与标准化参数估计结果

1
2
3
4
5
6
7
8
9
10
11
12
13
14
15
16
17
18
19
20
21
22
23
24
25
26
27
28
29
30
31
32
33
34
35
36
37
38
39
40
41
42
43
44
45
46
47
48
49
50
51
52
53
54
55
56
57
58
59
60
61
62
63
64
65
66
67
68
69
70
71
72
73
74
75
76
77
78
79
80
81
82
83
Latent Variables:
Estimate Std.Err z-value P(>|z|) Std.lv Std.all
nrel =~
nrel1 1.000 1.051 0.633
nrel2 0.782 0.147 5.334 0.000 0.822 0.524
nrel3 0.989 0.179 5.515 0.000 1.039 0.614
prel =~
prel1 1.000 0.736 0.478
prel2 1.422 0.282 5.047 0.000 1.047 0.616
prel3 1.471 0.293 5.022 0.000 1.083 0.654
nem =~
nem1 1.000 1.004 0.612
nem2 1.045 0.163 6.422 0.000 1.048 0.628
nem3 1.000 0.156 6.399 0.000 1.003 0.621
pem =~
pem1 1.000 1.090 0.661
pem2 0.894 0.153 5.852 0.000 0.975 0.591
pem3 0.869 0.150 5.809 0.000 0.948 0.573
sat =~
sat1 1.000 1.065 0.650
sat2 1.189 0.148 8.059 0.000 1.266 0.750
sat3 0.994 0.132 7.557 0.000 1.058 0.627

Regressions:
Estimate Std.Err z-value P(>|z|) Std.lv Std.all
sat ~
pem (a1) 0.278 0.099 2.806 0.005 0.285 0.285
nem (a2) -0.498 0.126 -3.963 0.000 -0.469 -0.469
prel (a3) 0.310 0.147 2.108 0.035 0.215 0.215
nrel (a4) -0.096 0.105 -0.912 0.362 -0.095 -0.095
pem ~
prel (b) 0.599 0.174 3.440 0.001 0.404 0.404
nem ~
nrel (c) 0.449 0.112 4.017 0.000 0.470 0.470

Covariances:
Estimate Std.Err z-value P(>|z|) Std.lv Std.all
nrel ~~
prel -0.034 0.075 -0.457 0.648 -0.044 -0.044

Variances:
Estimate Std.Err z-value P(>|z|) Std.lv Std.all
.nrel1 1.653 0.237 6.965 0.000 1.653 0.599
.nrel2 1.779 0.199 8.939 0.000 1.779 0.725
.nrel3 1.787 0.243 7.366 0.000 1.787 0.623
.prel1 1.828 0.193 9.469 0.000 1.828 0.771
.prel2 1.793 0.251 7.151 0.000 1.793 0.621
.prel3 1.570 0.248 6.326 0.000 1.570 0.572
.nem1 1.686 0.204 8.265 0.000 1.686 0.626
.nem2 1.685 0.211 7.971 0.000 1.685 0.605
.nem3 1.602 0.198 8.099 0.000 1.602 0.614
.pem1 1.532 0.228 6.709 0.000 1.532 0.563
.pem2 1.773 0.218 8.130 0.000 1.773 0.651
.pem3 1.835 0.218 8.434 0.000 1.835 0.671
.sat1 1.549 0.181 8.542 0.000 1.549 0.577
.sat2 1.247 0.193 6.456 0.000 1.247 0.437
.sat3 1.724 0.194 8.888 0.000 1.724 0.606
nrel 1.105 0.270 4.094 0.000 1.000 1.000
prel 0.542 0.171 3.179 0.001 1.000 1.000
.nem 0.784 0.195 4.014 0.000 0.779 0.779
.pem 0.994 0.241 4.124 0.000 0.837 0.837
.sat 0.616 0.149 4.141 0.000 0.543 0.543

R-Square:
Estimate
nrel1 0.401
nrel2 0.275
nrel3 0.377
prel1 0.229
prel2 0.379
prel3 0.428
nem1 0.374
nem2 0.395
nem3 0.386
pem1 0.437
pem2 0.349
pem3 0.329
sat1 0.423
sat2 0.563
sat3 0.394
nem 0.221
pem 0.163
sat 0.457

Sobel检验

1
2
3
4
Defined Parameters:
Estimate Std.Err z-value P(>|z|) Std.lv Std.all
sat_prel_sat 0.167 0.071 2.348 0.019 0.115 0.115
sat_nrel_sat -0.224 0.073 -3.054 0.002 -0.221 -0.221

结果显示,两个中介效应均显著

调节效应

两个连续变量的调节作用

自变量XX、调节变量MM与因变量YY均为观测变量

导入包与数据

1
2
3
4
5
6
7
8
9
10
11
12
# 导入包
library(haven)
library(lavaan)
library(dplyr)

# 导入数据
setwd("/Users/nanxu/研究生课程作业/心理统计/课件数据/12第十二章 调节效应/")
data <- read_sav("./12_1 mod_1.sav")

# 查看数据
names(data)
dim(data)

数据介绍与预处理

1
2
3
4
5
6
# 描述数据
summary(data)

# 计算相关系数矩阵
cor_matrix <- cor(data[, 1:3], use="complete.obs")
cor.plot(cor_matrix)

相关矩阵

1
2
3
4
5
6
7
8
9
10
11
12
# 中心化变量
data$CSC <- scale(data$SC, scale = FALSE)[, 1]
data$CSS <- scale(data$SS, scale = FALSE)[, 1]

# 标准化变量
data$ZSC <- scale(data$SC)[, 1]
data$ZSS <- scale(data$SS)[, 1]
data$ZDEP <- scale(data$DEP)[, 1]

# 创建交互项
data$CSSCSC <- data$CSC * data$CSS
data$ZSSZSC <- data$ZSC * data$ZSS

非标准化解

将自变量XX与调节变量MM做中心化处理

1
2
3
4
5
6
7
8
9
10
# 非标准化
# 第一层回归:包括CSS和CSC
fit1 <- lm(DEP ~ CSS + CSC, data = data)
summary(fit1) # 输出模型结果

# 第二层回归:添加交互项CSSCSC
fit2 <- lm(DEP ~ CSS + CSC + CSSCSC, data = data)
summary(fit2) # 输出模型结果

anova(fit1, fit2)

回归系数估计结果

1
2
3
4
5
6
7
8
9
10
11
12
13
14
15
16
17
18
19
20
21
22
23
24
25
26
27
28
> summary(fit1)  # 输出模型结果

Coefficients:
Estimate Std. Error t value Pr(>|t|)
(Intercept) 2.55711 0.05698 44.874 < 2e-16 ***
CSS 0.30851 0.09203 3.352 0.000937 ***
CSC -0.23512 0.11750 -2.001 0.046571 *
---
Signif. codes: 0***0.001**0.01*0.05 ‘.’ 0.1 ‘ ’ 1

Residual standard error: 0.8698 on 230 degrees of freedom
Multiple R-squared: 0.06211, Adjusted R-squared: 0.05395
F-statistic: 7.615 on 2 and 230 DF, p-value: 0.0006274

> summary(fit2) # 输出模型结果

Coefficients:
Estimate Std. Error t value Pr(>|t|)
(Intercept) 2.55764 0.05652 45.253 < 2e-16 ***
CSS 0.30119 0.09134 3.298 0.00113 **
CSC -0.23638 0.11654 -2.028 0.04369 *
CSSCSC -2.29489 1.04575 -2.194 0.02920 *
---
Signif. codes: 0***0.001**0.01*0.05 ‘.’ 0.1 ‘ ’ 1

Residual standard error: 0.8627 on 229 degrees of freedom
Multiple R-squared: 0.08143, Adjusted R-squared: 0.06939
F-statistic: 6.767 on 3 and 229 DF, p-value: 0.0002163

模型比较结果

1
2
3
4
5
> anova(fit1, fit2)

Res.Df RSS Df Sum of Sq F Pr(>F)
1 230 174.02
2 229 170.44 1 3.5842 4.8158 0.0292 *

可以看出,社会支持与工作压力的交互作用CSSCSC显著

绘制工作压力对抑郁的影像图

1
2
3
4
5
6
7
8
9
10
11
12
13
14
15
16
17
18
19
# 绘制影响图
points_data <- data.frame(
CSC = rep(c(-sd(data$CSC), 0, sd(data$CSC)), each = 2),
CSS = rep(c(-1, 1), times = 3) * sd(data$CSS),
Group = rep(c("Low SS", "Mean SS", "High SS"), each = 2)
)
points_data$CSSCSC <- points_data$CSS * points_data$CSC
points_data$Predicted_DEP <- predict(fit2_1, newdata = points_data)

plot(points_data$CSS, points_data$Predicted_DEP, type = 'n',
xlab = "Social Support (Centered)", ylab = "Predicted Depression",
main = "Effect of Social Support and Work Pressure on Depression")
colors <- c("red", "blue", "green")
for (i in unique(points_data$Group)) {
subset_data <- points_data[points_data$Group == i,]
points(subset_data$CSS, subset_data$Predicted_DEP, col = colors[which(unique(points_data$Group) == i)], pch = 19)
lines(subset_data$CSS, subset_data$Predicted_DEP, col = colors[which(unique(points_data$Group) == i)], lwd = 2)
}
legend("topleft", legend = c("-1 SD", "Mean", "+1 SD"), col = colors, lwd = 2, title = "CSC Levels")

在不同的社会支持水平上,工作压力对抑郁倾向的影响)

效应量

表示交互作用对因变量变异方差解释与没有解释的变异的比值

f2=R包含交互2R不包含交互21R包含交互2f^2 = \frac{R^2 _{包含交互} - R^2 _{不包含交互}}{1 - R^2 _{包含交互}}

f2=0.02f^2 = 0.02表示小的效应,f2=0.15f^2 = 0.15表示中等的效应,f2=0.026f^2 = 0.026表示大的效应,

1
2
3
4
5
6
7
8
# 效应量
# 假设fit_basic和fit_full已经被拟合
R2_excluded <- summary(fit1)$r.squared # 基础模型的R^2
R2_included <- summary(fit2)$r.squared # 完整模型的R^2

# 计算f^2系数
> (R2_included - R2_excluded) / (1 - R2_included)
[1] 0.02102979

标准化解

自变量XX、调节变量MM与因变量YY做标准化处理

1
2
3
4
5
6
7
8
9
# 标准化
fit3 <- lm(ZDEP ~ ZSS + ZSC, data = data)
summary(fit3) # 输出模型结果

# 第二层回归:添加交互项CSSCSC
fit4 <- lm(ZDEP ~ ZSS + ZSC + ZSSZSC, data = data)
summary(fit4) # 输出模型结果

anova(fit3, fit4)

回归系数估计结果

1
2
3
4
5
6
7
8
9
10
11
12
13
14
15
16
17
18
19
20
21
22
23
24
25
26
27
28
> summary(fit3)  # 输出模型结果

Coefficients:
Estimate Std. Error t value Pr(>|t|)
(Intercept) -3.933e-16 6.372e-02 0.000 1.000000
ZSS 2.141e-01 6.386e-02 3.352 0.000937 ***
ZSC -1.278e-01 6.386e-02 -2.001 0.046571 *
---
Signif. codes: 0***0.001**0.01*0.05 ‘.’ 0.1 ‘ ’ 1

Residual standard error: 0.9726 on 230 degrees of freedom
Multiple R-squared: 0.06211, Adjusted R-squared: 0.05395
F-statistic: 7.615 on 2 and 230 DF, p-value: 0.0006274

> summary(fit4) # 输出模型结果

Coefficients:
Estimate Std. Error t value Pr(>|t|)
(Intercept) 0.000597 0.063199 0.009 0.99247
ZSS 0.208985 0.063377 3.298 0.00113 **
ZSC -0.128460 0.063335 -2.028 0.04369 *
ZSSZSC -0.773876 0.352644 -2.194 0.02920 *
---
Signif. codes: 0***0.001**0.01*0.05 ‘.’ 0.1 ‘ ’ 1

Residual standard error: 0.9647 on 229 degrees of freedom
Multiple R-squared: 0.08143, Adjusted R-squared: 0.06939
F-statistic: 6.767 on 3 and 229 DF, p-value: 0.0002163

绘制工作压力对抑郁的影像图

1
2
3
4
5
6
7
8
9
10
11
12
13
14
15
16
17
18
19
# 绘制影响图
points_data <- data.frame(
ZSC = rep(c(-1, 0, 1), each = 2),
ZSS = rep(c(-1, 1), times = 3),
Group = rep(c("Low SS", "Mean SS", "High SS"), each = 2)
)
points_data$ZSSZSC <- points_data$ZSS * points_data$ZSC
points_data$Predicted_DEP <- predict(fit4, newdata = points_data)

plot(points_data$ZSS, points_data$Predicted_DEP, type = 'n',
xlab = "Social Support (Centered)", ylab = "Predicted Depression",
main = "Effect of Social Support and Work Pressure on Depression")
colors <- c("red", "blue", "green")
for (i in unique(points_data$Group)) {
subset_data <- points_data[points_data$Group == i,]
points(subset_data$ZSS, subset_data$Predicted_DEP, col = colors[which(unique(points_data$Group) == i)], pch = 19)
lines(subset_data$ZSS, subset_data$Predicted_DEP, col = colors[which(unique(points_data$Group) == i)], lwd = 2)
}
legend("topleft", legend = c("-1 SD", "Mean", "+1 SD"), col = colors, lwd = 2, title = "CSC Levels")

在不同的社会支持水平上,工作压力对抑郁倾向的影响

简单斜率检验

1
2
3
4
5
6
7
8
9
10
11
12
13
14
15
16
17
18
19
20
21
# 简单斜率检验
# 创建交互项并为M低于均值一个标准差时的简单斜率添加变量
data <- data %>%
mutate(
ZSCBELOW = ZSC + 1, # ZSC低于均值一个标准差
ZSS_ZSCBELOW = ZSS * ZSCBELOW, # 交互项
ZSCABOVE = ZSC - 1, # ZSC高于均值一个标准差
ZSS_ZSCABOVE = ZSS * ZSCABOVE # 交互项
)

# 第一步回归:基本效应模型(没有交互项)
# fit3 <- lm(ZDEP ~ ZSS + ZSC, data = data)
summary(fit3)

# 第二步回归:测试M低于均值一个标准差时的简单斜率
fit_below <- lm(ZDEP ~ ZSS + ZSCBELOW + ZSS_ZSCBELOW, data = data)
summary(fit_below)

# 第三步回归:测试M高于均值一个标准差时的简单斜率
fit_above <- lm(ZDEP ~ ZSS + ZSCABOVE + ZSS_ZSCABOVE, data = data)
summary(fit_above)

M低于均值一个标准差时的回归系数结果

1
2
3
4
5
6
7
8
9
10
11
12
Coefficients:
Estimate Std. Error t value Pr(>|t|)
(Intercept) 0.12906 0.08947 1.442 0.15056
ZSS 0.98286 0.35601 2.761 0.00623 **
ZSCBELOW -0.12846 0.06334 -2.028 0.04369 *
ZSS_ZSCBELOW -0.77388 0.35264 -2.194 0.02920 *
---
Signif. codes: 0***0.001**0.01*0.05 ‘.’ 0.1 ‘ ’ 1

Residual standard error: 0.9647 on 229 degrees of freedom
Multiple R-squared: 0.08143, Adjusted R-squared: 0.06939
F-statistic: 6.767 on 3 and 229 DF, p-value: 0.0002163

ZSS的斜率系数Estimate为0.98286,Pr(>|t|)为0.00623,表明当社会支持水平低的时候,工作压力对抑郁倾向有显著的正向影响

M高于均值一个标准差时的回归系数结果

1
2
3
4
5
6
7
8
9
10
11
12
Coefficients:
Estimate Std. Error t value Pr(>|t|)
(Intercept) -0.12786 0.08947 -1.429 0.1543
ZSS -0.56489 0.36057 -1.567 0.1186
ZSCABOVE -0.12846 0.06334 -2.028 0.0437 *
ZSS_ZSCABOVE -0.77388 0.35264 -2.194 0.0292 *
---
Signif. codes: 0***0.001**0.01*0.05 ‘.’ 0.1 ‘ ’ 1

Residual standard error: 0.9647 on 229 degrees of freedom
Multiple R-squared: 0.08143, Adjusted R-squared: 0.06939
F-statistic: 6.767 on 3 and 229 DF, p-value: 0.0002163

ZSS的斜率系数Estimate为-0.56489,Pr(>|t|)为0.1186,表明当社会支持水平高的时候,工作压力对抑郁倾向的影响不显著

连续变量与分类变量的调节作用

导入包与数据

1
2
3
4
5
6
7
8
9
10
11
12
13
# 导入包
library(haven)
library(psych)
library(lavaan)
library(dplyr)

# 导入数据
setwd("/Users/nanxu/研究生课程作业/心理统计/课件数据/12第十二章 调节效应/")
data <- read_sav("./12_1 mod_1.sav")

# 查看数据
names(data)
dim(data)

虚拟编码后的调教效应检验

虚拟编码与数据预处理

1
2
3
4
# 男性编码为0,女性编码为1
# 转换性别为因子变量
data$SEX = data$SEX - 1
table(data$SEX) # 查看性别分布
1
2
3
4
5
6
7
8
9
10
11
12
# 中心化变量
data$CSC <- scale(data$SC, scale = FALSE)[, 1]
data$CSS <- scale(data$SS, scale = FALSE)[, 1]

# 标准化变量
data$ZSC <- scale(data$SC)[, 1]
data$ZSS <- scale(data$SS)[, 1]
data$ZDEP <- scale(data$DEP)[, 1]

# 创建交互项
data$GENDERCSS <- data$SEX * data$CSS
data$GENDERZSS <- data$SEX * data$ZSS

非标准化回归系数

对自变量XX进行中心化处理

1
2
3
4
5
6
7
# 非标准化
# 层次回归分析
fit5 <- lm(DEP ~ CSS + SEX, data = data)
summary(fit5)

fit6 <- lm(DEP ~ CSS + SEX + GENDERCSS, data = data)
summary(fit6)

回归系数估计结果

1
2
3
4
5
6
7
8
9
10
11
12
13
14
15
16
17
18
19
20
21
22
23
24
25
26
27
28
> summary(fit5)

Coefficients:
Estimate Std. Error t value Pr(>|t|)
(Intercept) 2.67996 0.08079 33.172 < 2e-16 ***
CSS 0.33877 0.09301 3.642 0.000334 ***
SEX -0.24675 0.11518 -2.142 0.033211 *
---
Signif. codes: 0***0.001**0.01*0.05 ‘.’ 0.1 ‘ ’ 1

Residual standard error: 0.8687 on 230 degrees of freedom
Multiple R-squared: 0.06445, Adjusted R-squared: 0.05632
F-statistic: 7.923 on 2 and 230 DF, p-value: 0.0004706

> summary(fit6)

Coefficients:
Estimate Std. Error t value Pr(>|t|)
(Intercept) 2.69864 0.08056 33.498 < 2e-16 ***
CSS 0.53737 0.12876 4.173 4.26e-05 ***
SEX -0.24558 0.11422 -2.150 0.0326 *
GENDERCSS -0.40787 0.18452 -2.210 0.0281 *
---
Signif. codes: 0***0.001**0.01*0.05 ‘.’ 0.1 ‘ ’ 1

Residual standard error: 0.8615 on 229 degrees of freedom
Multiple R-squared: 0.08399, Adjusted R-squared: 0.07199
F-statistic: 7 on 3 and 229 DF, p-value: 0.0001592

绘制影响图

1
2
3
4
5
6
7
8
9
10
11
12
13
14
15
16
17
18
# 绘制影响图
points_data <- data.frame(
CSS = rep(c(-1, 1), times = 2) * sd(data$CSS),
SEX = rep(c(0, 1), each = 2)
)
points_data$GENDERCSS <- points_data$CSS * points_data$SEX
points_data$Predicted_DEP <- predict(fit6, newdata = points_data)

plot(points_data$CSS, points_data$Predicted_DEP, type = 'n',
xlab = "Social Support (Centered)", ylab = "Predicted Depression",
main = "Effect of Gender and Social Support on Depression")
colors <- c("red", "blue")
for (sex in unique(points_data$SEX)) {
subset_data <- points_data[points_data$SEX == sex,]
points(subset_data$CSS, subset_data$Predicted_DEP, col = colors[sex + 1], pch = 19)
lines(subset_data$CSS, subset_data$Predicted_DEP, col = colors[sex + 1], lwd = 2)
}
legend("topleft", legend = c("Female", "Male"), col = colors, lwd = 2, pch = 19, title = "Gender")

不同性别的工作压力对抑郁倾向的影响

效应量

1
2
3
4
5
6
7
# 假设fit_basic和fit_full已经被拟合
R2_excluded <- summary(fit5)$r.squared # 基础模型的R^2
R2_included <- summary(fit6)$r.squared # 完整模型的R^2

# 计算f^2系数
> (R2_included - R2_excluded) / (1 - R2_included)
[1] 0.02133518

标准化回归系数

1
2
3
4
5
6
7
# 标准化
# 层次回归分析
fit7 <- lm(ZDEP ~ ZSS + SEX, data = data)
summary(fit7)

fit8 <- lm(ZDEP ~ ZSS + SEX + GENDERZSS, data = data)
summary(fit8)

回归系数估计结果

1
2
3
4
5
6
7
8
9
10
11
12
13
14
15
16
17
18
19
20
21
22
23
24
25
26
27
28
> summary(fit7)

Coefficients:
Estimate Std. Error t value Pr(>|t|)
(Intercept) 0.13737 0.09034 1.521 0.129742
ZSS 0.23506 0.06453 3.642 0.000334 ***
SEX -0.27592 0.12879 -2.142 0.033211 *
---
Signif. codes: 0***0.001**0.01*0.05 ‘.’ 0.1 ‘ ’ 1

Residual standard error: 0.9714 on 230 degrees of freedom
Multiple R-squared: 0.06445, Adjusted R-squared: 0.05632
F-statistic: 7.923 on 2 and 230 DF, p-value: 0.0004706

> summary(fit8)

Coefficients:
Estimate Std. Error t value Pr(>|t|)
(Intercept) 0.15826 0.09008 1.757 0.0803 .
ZSS 0.37286 0.08934 4.173 4.26e-05 ***
SEX -0.27461 0.12772 -2.150 0.0326 *
GENDERZSS -0.28300 0.12803 -2.210 0.0281 *
---
Signif. codes: 0***0.001**0.01*0.05 ‘.’ 0.1 ‘ ’ 1

Residual standard error: 0.9633 on 229 degrees of freedom
Multiple R-squared: 0.08399, Adjusted R-squared: 0.07199
F-statistic: 7 on 3 and 229 DF, p-value: 0.0001592

绘制影响图

1
2
3
4
5
6
7
8
9
10
11
12
13
14
15
16
17
18
# 绘制影响图
points_data <- data.frame(
ZSS = rep(c(-1, 1), times = 2),
SEX = rep(c(0, 1), each = 2)
)
points_data$GENDERZSS <- points_data$ZSS * points_data$SEX
points_data$Predicted_DEP <- predict(fit8, newdata = points_data)

plot(points_data$ZSS, points_data$Predicted_DEP, type = 'n',
xlab = "Social Support (Centered)", ylab = "Predicted Depression",
main = "Effect of Gender and Social Support on Depression")
colors <- c("red", "blue")
for (sex in unique(points_data$SEX)) {
subset_data <- points_data[points_data$SEX == sex,]
points(subset_data$ZSS, subset_data$Predicted_DEP, col = colors[sex + 1], pch = 19)
lines(subset_data$ZSS, subset_data$Predicted_DEP, col = colors[sex + 1], lwd = 2)
}
legend("topleft", legend = c("Female", "Male"), col = colors, lwd = 2, pch = 19, title = "Gender")

不同性别的工作压力对抑郁倾向的影响

简单斜率检验

1
2
3
4
5
6
7
8
9
10
11
12
13
14
# 简单斜率检验
# 将性别编码颠倒:原来男性为0,女性为1,现在女性为0,男性为1
data$SEX_N <- ifelse(data$SEX == 0, 1, 0)

# 创建交互项并为性别低于均值一个标准差时的简单斜率添加变量
data$GENDER_NZSS <- data$SEX_N * data$ZSS

# 第一步回归:基本效应模型(没有交互项)
# fit7 <- lm(ZDEP ~ ZSS + SEX, data = data)
summary(fit7)

# 测试性别为男性时的简单斜率
fit_N <- lm(ZDEP ~ ZSS + SEX_N + GENDER_NZSS, data = data)
summary(fit_N)
1
2
3
4
5
6
7
8
9
10
11
12
Coefficients:
Estimate Std. Error t value Pr(>|t|)
(Intercept) -0.11635 0.09054 -1.285 0.2000
ZSS 0.08986 0.09171 0.980 0.3282
SEX_N 0.27461 0.12772 2.150 0.0326 *
GENDER_NZSS 0.28300 0.12803 2.210 0.0281 *
---
Signif. codes: 0***0.001**0.01*0.05 ‘.’ 0.1 ‘ ’ 1

Residual standard error: 0.9633 on 229 degrees of freedom
Multiple R-squared: 0.08399, Adjusted R-squared: 0.07199
F-statistic: 7 on 3 and 229 DF, p-value: 0.0001592

ZSS的斜率系数Estimate为0.08986,Pr(>|t|)为0.3282,表明对于男性,工作压力对抑郁倾向的影响不显著

非加权效应编码后的调节效应检验

非加权效应编码是将分类变量重新编码为-1与+1

非加权效应编码与数据预处理

1
2
3
# 女性编码为-1,男性编码为1
data$SEX_G <- ifelse(data$SEX == 1, 1, -1)
table(data$SEX_G) # 查看性别分布
1
2
3
4
5
6
7
8
9
10
11
12
# 中心化变量
data$CSC <- scale(data$SC, scale = FALSE)[, 1]
data$CSS <- scale(data$SS, scale = FALSE)[, 1]

# 标准化变量
data$ZSC <- scale(data$SC)[, 1]
data$ZSS <- scale(data$SS)[, 1]
data$ZDEP <- scale(data$DEP)[, 1]

# 创建交互项
data$GENDERCSS <- data$SEX_G * data$CSS
data$GENDERZSS <- data$SEX_G * data$ZSS

非标准化回归系数

1
2
3
4
5
6
7
# 非标准化
# 层次回归分析
fit9 <- lm(DEP ~ CSS + SEX_G, data = data)
summary(fit9)

fit10 <- lm(DEP ~ CSS + SEX_G + GENDERCSS, data = data)
summary(fit10)

回归系数估计结果

1
2
3
4
5
6
7
8
9
10
11
12
13
14
15
16
17
18
19
20
21
22
23
24
25
26
27
28
> summary(fit9)

Coefficients:
Estimate Std. Error t value Pr(>|t|)
(Intercept) 2.55658 0.05691 44.920 < 2e-16 ***
CSS 0.33877 0.09301 3.642 0.000334 ***
SEX_G -0.12338 0.05759 -2.142 0.033211 *
---
Signif. codes: 0***0.001**0.01*0.05 ‘.’ 0.1 ‘ ’ 1

Residual standard error: 0.8687 on 230 degrees of freedom
Multiple R-squared: 0.06445, Adjusted R-squared: 0.05632
F-statistic: 7.923 on 2 and 230 DF, p-value: 0.0004706

> summary(fit10)

Coefficients:
Estimate Std. Error t value Pr(>|t|)
(Intercept) 2.57585 0.05711 45.105 < 2e-16 ***
CSS 0.33343 0.09226 3.614 0.000371 ***
SEX_G -0.12279 0.05711 -2.150 0.032593 *
GENDERCSS -0.20393 0.09226 -2.210 0.028069 *
---
Signif. codes: 0***0.001**0.01*0.05 ‘.’ 0.1 ‘ ’ 1

Residual standard error: 0.8615 on 229 degrees of freedom
Multiple R-squared: 0.08399, Adjusted R-squared: 0.07199
F-statistic: 7 on 3 and 229 DF, p-value: 0.0001592

绘制影响图

1
2
3
4
5
6
7
8
9
10
11
12
13
14
15
16
17
18
19
# 绘制影响图
points_data <- data.frame(
CSS = rep(c(-1, 1), times = 2) * sd(data$CSS),
SEX_G = rep(c(-1, 1), each = 2)
)
points_data$GENDERCSS <- points_data$CSS * points_data$SEX_G
points_data$Predicted_DEP <- predict(fit10, newdata = points_data)

plot(points_data$CSS, points_data$Predicted_DEP, type = 'n',
xlab = "Social Support (Centered)", ylab = "Predicted Depression",
main = "Effect of Gender and Social Support on Depression")
colors <- c("red", "blue")
for (sex in unique(points_data$SEX_G)) {
subset_data <- points_data[points_data$SEX_G == sex,]
color_index <- ifelse(sex == -1, 2, 1)
points(subset_data$CSS, subset_data$Predicted_DEP, col = colors[color_index], pch = 19)
lines(subset_data$CSS, subset_data$Predicted_DEP, col = colors[color_index], lwd = 2)
}
legend("topleft", legend = c("Female", "Male"), col = colors, lwd = 2, pch = 19, title = "Gender")

不同性别的工作压力对抑郁倾向的影响

效应量

1
2
3
4
5
6
7
8
# 效应量
# 假设fit_basic和fit_full已经被拟合
R2_excluded <- summary(fit9)$r.squared # 基础模型的R^2
R2_included <- summary(fit10)$r.squared # 完整模型的R^2

# 计算f^2系数
> (R2_included - R2_excluded) / (1 - R2_included)
[1] 0.02133518

标准化回归系数

1
2
3
4
5
6
7
# 标准化
# 层次回归分析
fit11 <- lm(ZDEP ~ ZSS + SEX_G, data = data)
summary(fit11)

fit12 <- lm(ZDEP ~ ZSS + SEX_G + GENDERZSS, data = data)
summary(fit12)

回归系数估计结果

1
2
3
4
5
6
7
8
9
10
11
12
13
14
15
16
17
18
19
20
21
22
23
24
25
26
27
28
> summary(fit11)

Coefficients:
Estimate Std. Error t value Pr(>|t|)
(Intercept) -0.0005921 0.0636413 -0.009 0.992585
ZSS 0.2350608 0.0645333 3.642 0.000334 ***
SEX_G -0.1379606 0.0643952 -2.142 0.033211 *
---
Signif. codes: 0***0.001**0.01*0.05 ‘.’ 0.1 ‘ ’ 1

Residual standard error: 0.9714 on 230 degrees of freedom
Multiple R-squared: 0.06445, Adjusted R-squared: 0.05632
F-statistic: 7.923 on 2 and 230 DF, p-value: 0.0004706

> summary(fit12)

Coefficients:
Estimate Std. Error t value Pr(>|t|)
(Intercept) 0.02095 0.06386 0.328 0.743123
ZSS 0.23136 0.06402 3.614 0.000371 ***
SEX_G -0.13730 0.06386 -2.150 0.032593 *
GENDERZSS -0.14150 0.06402 -2.210 0.028069 *
---
Signif. codes: 0***0.001**0.01*0.05 ‘.’ 0.1 ‘ ’ 1

Residual standard error: 0.9633 on 229 degrees of freedom
Multiple R-squared: 0.08399, Adjusted R-squared: 0.07199
F-statistic: 7 on 3 and 229 DF, p-value: 0.0001592

绘制影响图

1
2
3
4
5
6
7
8
9
10
11
12
13
14
15
16
17
18
19
# 绘制影响图
points_data <- data.frame(
ZSS = rep(c(-1, 1), times = 2),
SEX_G = rep(c(-1, 1), each = 2)
)
points_data$GENDERZSS <- points_data$ZSS * points_data$SEX
points_data$Predicted_DEP <- predict(fit12, newdata = points_data)

plot(points_data$ZSS, points_data$Predicted_DEP, type = 'n',
xlab = "Social Support (Centered)", ylab = "Predicted Depression",
main = "Effect of Gender and Social Support on Depression")
colors <- c("red", "blue")
for (sex in unique(points_data$SEX_G)) {
subset_data <- points_data[points_data$SEX_G == sex,]
color_index <- ifelse(sex == -1, 2, 1)
points(subset_data$ZSS, subset_data$Predicted_DEP, col = colors[color_index], pch = 19)
lines(subset_data$ZSS, subset_data$Predicted_DEP, col = colors[color_index], lwd = 2)
}
legend("topleft", legend = c("Female", "Male"), col = colors, lwd = 2, pch = 19, title = "Gender")

不同性别的工作压力对抑郁倾向的影响

简单斜率检验

1
2
3
4
5
6
7
8
9
10
11
12
13
14
# 简单斜率检验
# 将性别编码颠倒:原来男性为1,女性为-1,现在女性为-1,男性为1
data$SEX_GN <- ifelse(data$SEX_G == -1, 1, -1)

# 创建交互项并为性别低于均值一个标准差时的简单斜率添加变量
data$GENDER_NZSS <- data$SEX_GN * data$ZSS

# 第一步回归:基本效应模型(没有交互项)
# fit11 <- lm(ZDEP ~ ZSS + SEX_G, data = data)
summary(fit11)

# 测试性别为男性时的简单斜率
fit_N <- lm(ZDEP ~ ZSS + SEX_GN + GENDER_NZSS, data = data)
summary(fit_N)
1
2
3
4
5
6
7
8
9
10
11
12
Coefficients:
Estimate Std. Error t value Pr(>|t|)
(Intercept) 0.02095 0.06386 0.328 0.743123
ZSS 0.23136 0.06402 3.614 0.000371 ***
SEX_GN 0.13730 0.06386 2.150 0.032593 *
GENDER_NZSS 0.14150 0.06402 2.210 0.028069 *
---
Signif. codes: 0***0.001**0.01*0.05 ‘.’ 0.1 ‘ ’ 1

Residual standard error: 0.9633 on 229 degrees of freedom
Multiple R-squared: 0.08399, Adjusted R-squared: 0.07199
F-statistic: 7 on 3 and 229 DF, p-value: 0.0001592

ZSS的斜率系数Estimate为0.23136,Pr(>|t|)为0.000371,表明对于男性,工作压力对抑郁倾向的影响显著

潜变量的调节效应

潜变量与分类变量的调节效应分析

导入包与数据

1
2
3
4
5
6
7
8
9
10
11
# 导入包
library(haven)
library(lavaan)

# 导入数据
setwd("/Users/nanxu/研究生课程作业/心理统计/课件数据/12第十二章 调节效应/")
data <- read_sav("./12_2 mod_2.sav")

# 查看数据
names(data)
dim(data)

数据分组与介绍

1
2
3
4
data$sex <- factor(data$sex, levels = c(1, 2), labels = c("female", "male"))

# 描述数据
summary(data)

结构方程模型

1
2
3
4
5
6
7
8
model <- '
# 测量模型
DEP =~ Y1 + Y2 + Y3
STRESS =~ X1 + X2 + X3

# 结构模型
DEP ~ STRESS
'

结构等价性

1
2
3
# 结构等价性
fit1 <- sem(model, data = data, group = "sex")
summary(fit1, standardized = TRUE, fit.measures = TRUE, rsquare=TRUE)

模型拟合结果

1
2
3
4
5
6
7
8
9
10
11
12
13
14
15
16
17
18
19
20
21
Model Test User Model:

Test statistic 21.888
Degrees of freedom 16
P-value (Chi-square) 0.147
Test statistic for each group:
male 16.217
female 5.671

User Model versus Baseline Model:

Comparative Fit Index (CFI) 0.985
Tucker-Lewis Index (TLI) 0.971

Root Mean Square Error of Approximation:

RMSEA 0.045
90 Percent confidence interval - lower 0.000
90 Percent confidence interval - upper 0.087
P-value H_0: RMSEA <= 0.050 0.533
P-value H_0: RMSEA >= 0.080 0.093

可以看出RMSEA值为0.045,CFI的值为0.985,TLI的值为0.971,表明模型拟合较好,男女两组满足因子结构等价性。

弱等价性

1
2
3
4
# 弱等价性
fit2 <- sem(model, data = data, group = "sex", group.equal = "loadings")
summary(fit2, fit.measures = TRUE, standardized = TRUE, rsquare=TRUE)
anova(fit1, fit2)
1
2
3
4
5
6
7
> anova(fit1, fit2)

Chi-Squared Difference Test

Df AIC BIC Chisq Chisq diff RMSEA Df diff Pr(>Chisq)
fit1 16 5916.4 6064.8 21.888
fit2 20 5910.7 6043.5 24.225 2.3363 0 4 0.6742

可以看出两个模型的卡方值的差值Chisq diff为2.3363,自由度的差值Df diff为4,表明两个模型的卡方差异不显著。可以接受弱等价模型,即认为男女两组满足因素载荷等价条件。

结构方程系数等价性

1
2
3
4
# 回归系数等价性
fit3 <- sem(model, data = data, group = "sex", group.equal = c("regressions", "loadings"))
summary(fit3, fit.measures = TRUE, standardized = TRUE, rsquare=TRUE)
anova(fit1, fit2, fit3)
1
2
3
4
5
6
7
8
> anova(fit1, fit2, fit3)

Chi-Squared Difference Test

Df AIC BIC Chisq Chisq diff RMSEA Df diff Pr(>Chisq)
fit1 16 5916.4 6064.8 21.888
fit2 20 5910.7 6043.5 24.225 2.3363 0.00000 4 0.67416
fit3 21 5911.8 6040.7 27.317 3.0923 0.10678 1 0.07866 .

可以看出两个模型的卡方值的差值Chisq diff为3.0923,自由度的差值Df diff为1,表明两个模型的卡方差异不显著。可以接受潜变量路径系数等价模型,即认为男女两组满足路径系数等价条件。即性别在压力对抑郁的影响中的调节作用不显著。

潜变量与潜变量的调节效应分析

导入包与数据

1
2
3
4
5
6
7
8
9
10
11
# 导入包
library(haven)
library(lavaan)

# 导入数据
setwd("/Users/nanxu/研究生课程作业/心理统计/课件数据/12第十二章 调节效应/")
data <- read_sav("./12_6 mod_3.sav")

# 查看数据
names(data)
dim(data)

数据介绍与数据预处理

1
2
3
4
5
6
7
8
9
10
11
12
13
14
15
16
17
18
19
20
21
22
23
24
# 描述数据
summary(data)

# 中心化变量
data$CCON1 <- scale(data$CON1, scale = FALSE)[, 1]
data$CCON2 <- scale(data$CON2, scale = FALSE)[, 1]
data$CCON3 <- scale(data$CON3, scale = FALSE)[, 1]
data$CCON4 <- scale(data$CON4, scale = FALSE)[, 1]
data$CDEP1 <- scale(data$DEP1, scale = FALSE)[, 1]
data$CDEP2 <- scale(data$DEP2, scale = FALSE)[, 1]
data$CDEP3 <- scale(data$DEP3, scale = FALSE)[, 1]
data$CDEP4 <- scale(data$DEP4, scale = FALSE)[, 1]

# 乘积指标
data$CCON1CDEP1 <- data$CCON1 * data$CDEP1
data$CCON2CDEP2 <- data$CCON2 * data$CDEP2
data$CCON3CDEP3 <- data$CCON3 * data$CDEP3
data$CCON4CDEP4 <- data$CCON4 * data$CDEP4

# 乘积指标二次中心化
data$C_CCON1CDEP1 <- scale(data$CCON1CDEP1, scale = FALSE)[, 1]
data$C_CCON2CDEP2 <- scale(data$CCON2CDEP2, scale = FALSE)[, 1]
data$C_CCON3CDEP3 <- scale(data$CCON3CDEP3, scale = FALSE)[, 1]
data$C_CCON4CDEP4 <- scale(data$CCON4CDEP4, scale = FALSE)[, 1]

乘积指标法

1
2
3
4
5
6
7
8
9
10
11
12
13
14
15
model <- '
# 测量模型
CON =~ CCON1 + CCON2 + CCON3 + CCON4
DEP =~ CDEP1 + CDEP2 + CDEP3 + CDEP4
CONDEP =~ C_CCON1CDEP1 + C_CCON2CDEP2 + C_CCON3CDEP3 + C_CCON4CDEP4

# 结构模型
ALC ~ CON + DEP + CONDEP

# 显示截距
ALC ~ 1
'

fit <- sem(model, data = data, estimator = "ML")
summary(fit, standardized = TRUE, fit.measures = TRUE, rsquare=TRUE)

绘制影响图

1
2
3
4
5
6
7
8
9
10
11
12
13
14
15
16
17
18
19
20
21
22
23
24
# 绘制影响图
points_data <- data.frame(
CON = rep(c(-1, 1), each = 5) * sqrt(coef(fit)["CON~~CON"]),
DEP = rep(c(-2, -1, 0, 1, 2), times = 2) * sqrt(coef(fit)["DEP~~DEP"])
)
points_data$CONDEP <- points_data$CON * points_data$DEP
calculate_ALC <- function(df) {
ALC = coef(fit)["ALC~1"] + coef(fit)["ALC~CON"] * df$CON + coef(fit)["ALC~DEP"] * df$DEP + coef(fit)["ALC~CONDEP"] * df$CONDEP
return(ALC)
}
points_data$Predicted_ALC <- calculate_ALC(points_data)

plot(points_data$CON, points_data$Predicted_ALC, type = 'n',
xlab = "CON", ylab = "pre_ALC",
main = "Effect of DEP and CON on ALC")
colors <- c("red", "blue", "green", "yellow", "black")
points_data$DEP_index <- points_data$DEP/sqrt(coef(fit)["DEP~~DEP"]) *abs(points_data$CON)/sqrt(coef(fit)["CON~~CON"]) + 3
# 使用新的变量来索引颜色
for (index in unique(points_data$DEP_index)) {
subset_data <- points_data[points_data$DEP_index == index,]
points(subset_data$CON, subset_data$Predicted_ALC, col = colors[index], pch = 19)
lines(subset_data$CON, subset_data$Predicted_ALC, col = colors[index], lwd = 2)
}
legend("topleft", legend = c(-2, -1, 0, 1, 2), col = colors, lwd = 2, pch = 19, title = "DEP")

在不同的抑郁症状水平上,问题行为对饮酒行为对影响

潜调节结构方程

导入包与数据

1
2
3
4
5
6
7
8
9
10
11
# 导入包
library(haven)
library(lavaan)

# 导入数据
setwd("/Users/nanxu/研究生课程作业/心理统计/课件数据/12第十二章 调节效应/")
data <- read_sav("./12_6 mod_3.sav")

# 查看数据
names(data)
dim(data)

描述数据与数据预处理

1
2
3
4
5
# 描述数据
summary(data)

# 标准化数据
data[, c("CCON1", "CCON2", "CCON3", "CCON4", "CDEP1", "CDEP2", "CDEP3", "CDEP4", "CALC")] <- scale(data[, c("CON1", "CON2", "CON3", "CON4", "DEP1", "DEP2", "DEP3", "DEP4", "ALC")])

基准模型0

1
2
3
4
5
6
7
8
9
10
11
12
13
14
15
16
# 模型0
model0 <- '
# 测量模型
CCON =~ CCON1 + CCON2 + CCON3 + CCON4
CDEP =~ CDEP1 + CDEP2 + CDEP3 + CDEP4

# 关联
CCON ~~ CDEP

# 结构模型
CALC ~ CCON + CDEP
'

# 运行模型
fit0 <- sem(model0, data = data, estimator = "ML")
summary(fit0, standardized = TRUE, fit.measures = TRUE, rsquare=TRUE)

modsem方法

1
2
3
4
5
6
7
8
9
10
11
12
13
14
15
16
# 模型1
library(modsem)
model1 <- '
# 测量模型
CON =~ CON1 + CON2 + CON3 + CON4
DEP =~ DEP1 + DEP2 + DEP3 + DEP4

# 关联
#CON ~~ DEP

# 结构模型
ALC ~ a*CON + b*DEP + c*CON:DEP
'

fit1 <- modsem(model1, data = data, method = "lms")
summary(fit1, standardized = TRUE, fit.measures = TRUE, rsquare=TRUE)

nlsem方法

1
2
3
4
5
6
7
8
9
10
11
12
13
14
15
16
17
18
19
20
21
22
23
24
25
26
27
28
29
30
31
32
33
# 创建模型方法1
lav_model <- '
# 测量模型
xi1 =~ x1 + x2 + x3 + x4
xi2 =~ x5 + x6 + x7 + x8
eta =~ y1

eta ~ xi1 + xi2 + xi1:xi2
'
model1 <- lav2nlsem(lav_model)

# 创建模型方法2
model1 <- specify_sem(
num.x = 8, # 指标变量数量,用于xi(这里认为是CCON的指标)
num.y = 1, # 指标变量数量,用于eta(这里认为是CDEP的指标)
num.xi = 2, # 潜在外生变量的数量(CCON)
num.eta = 1, # 潜在内生变量的数量(CDEP)
xi = "x1-x4, x5-x8", # 指标变量 x1 至 x4 是 CCON 的指标
eta = "y1", # 指标变量 y1 至 y4 是 CDEP 的指标
interaction = "xi1:xi2", # 交互项 CDEP (eta) 和 CCON (xi)
rel.lat = "default" # 定义潜变量之间的关系
)

# 随机生成起始值
set.seed(666)
start <- runif(count_free_parameters(model1))

# 拟合模型
fit1 <- em(model1, as.matrix(data[, c(10:18)]), start, convergence = 0.01, max.iter = 200)

# 检查结果
summary(fit1)
plot(fit1)

有调节的中介

导入包与数据

1
2
3
4
5
6
7
8
9
10
11
12
13
14
15
# 导入包
library(haven)
library(lavaan)
library(blavaan)

# 导入数据
setwd("/Users/nanxu/研究生课程作业/心理统计/课件数据/12第十二章 调节效应/")
data <- read_sav("./12_12 mod_med.sav")

# 查看数据
names(data)
dim(data)

# 描述数据
summary(data)

简单调节模型

1
2
3
4
5
6
7
8
9
10
11
# 简单调节模型
model1 <- '
# 回归方程
SAT ~ CPREL + SIZE + CPRELSIZE
'

# 拟合模型
fit1 <- sem(model1, data = data)

# 查看模型摘要
summary(fit1, fit.measures = TRUE, standardized = TRUE, rsquare = TRUE)

参数估计结果与标准化参数估计结果

1
2
3
4
5
6
7
8
9
10
11
12
13
14
Regressions:
Estimate Std.Err z-value P(>|z|) Std.lv Std.all
SAT ~
CPREL 0.244 0.096 2.550 0.011 0.244 0.222
SIZE -0.229 0.162 -1.419 0.156 -0.229 -0.085
CPRELSIZE 0.038 0.132 0.290 0.772 0.038 0.025

Variances:
Estimate Std.Err z-value P(>|z|) Std.lv Std.all
.SAT 1.685 0.148 11.402 0.000 1.685 0.938

R-Square:
Estimate
SAT 0.062

可以看出积极的劳资关系压力PREL对工作满意度SAT的效应显著,P(>|z|)为0.011。但是积极的劳资关系压力与企业规模的交互项CPRELSIZE对工作满意度SAT的效应不显著,P(>|z|)为0.772。因此,积极的劳资关系压力PREL对工作满意度SAT的直接效应不受调节。

有调节的中介效应检验

系数依次检验

1
2
3
4
5
6
7
8
9
10
11
12
# 有调节的中介
model2 <- '
# 回归方程
SAT ~ PEM + CPREL
PEM ~ CPREL + CPRELSIZE + SIZE
'

# 拟合模型
fit2 <- sem(model2, data = data)

# 查看模型摘要
summary(fit2, fit.measures = TRUE, standardized = TRUE, rsquare = TRUE)

模型拟合结果

1
2
3
4
5
6
7
8
9
10
11
12
13
14
15
16
17
18
19
20
21
22
23
24
25
26
27
28
29
30
31
32
33
34
35
36
37
Model Test User Model:

Test statistic 2.598
Degrees of freedom 2
P-value (Chi-square) 0.273

Model Test Baseline Model:

Test statistic 225.874
Degrees of freedom 7
P-value 0.000

User Model versus Baseline Model:

Comparative Fit Index (CFI) 0.997
Tucker-Lewis Index (TLI) 0.990

Loglikelihood and Information Criteria:

Loglikelihood user model (H0) -761.932
Loglikelihood unrestricted model (H1) NA

Akaike (AIC) 1537.865
Bayesian (BIC) 1562.790
Sample-size adjusted Bayesian (SABIC) 1540.597

Root Mean Square Error of Approximation:

RMSEA 0.034
90 Percent confidence interval - lower 0.000
90 Percent confidence interval - upper 0.133
P-value H_0: RMSEA <= 0.050 0.477
P-value H_0: RMSEA >= 0.080 0.299

Standardized Root Mean Square Residual:

SRMR 0.016

可以看出,卡方值为2.598,自由度为2,CFI值为0.997,TLI值为0.990,RMSEA值为0.034,表明模型拟合较好。

参数估计结果与标准化参数估计结果

1
2
3
4
5
6
7
8
9
10
11
12
13
14
15
16
17
18
19
Regressions:
Estimate Std.Err z-value P(>|z|) Std.lv Std.all
SAT ~
PEM 0.225 0.065 3.473 0.001 0.225 0.211
CPREL 0.199 0.067 2.970 0.003 0.199 0.181
PEM ~
CPREL 0.428 0.063 6.757 0.000 0.428 0.416
CPRELSIZE -0.227 0.088 -2.578 0.010 -0.227 -0.158
SIZE -1.710 0.107 -15.942 0.000 -1.710 -0.679

Variances:
Estimate Std.Err z-value P(>|z|) Std.lv Std.all
.SAT 1.623 0.142 11.402 0.000 1.623 0.904
.PEM 0.741 0.065 11.402 0.000 0.741 0.469

R-Square:
Estimate
SAT 0.096
PEM 0.531

可以看出所有的路径都显著,PEM ~ CPREL的路径系数为0.428,PEM ~ CPRELSIZE的路径系数为-0.227,SAT ~ PEM的路径系数为0.225,依次检验的结果显著,足以证明中介效应是收到调节的。

乘积系数的区间检验

1
2
3
4
5
6
7
8
9
# 定义模型
model3 <- '
# 回归方程
PEM ~ a1*CPREL + a2*SIZE + a3*CPRELSIZE
SAT ~ c*PEM + b*CPREL

# 中介效应
h1 := a3*b # z=0 和 z=1 时中介效应的差值
'
偏差校正的Bootstrap方法
1
2
3
4
5
6
7
8
9
10
# 使用 bootstrap 进行拟合
fit_bootstrap <- sem(model3, data = data, se = "bootstrap", bootstrap = 2000)

# 查看模型摘要,包括偏差修正的 bootstrap 置信区间
summary(fit_bootstrap, fit.measures = TRUE, standardized = TRUE, rsquare = TRUE, ci = TRUE)

# 查看参数估计,包括不同置信水平的偏差修正的 bootstrap 置信区间
parameterEstimates(fit_bootstrap, level = 0.90, boot.ci.type = "bca.simple")
parameterEstimates(fit_bootstrap, level = 0.95, boot.ci.type = "bca.simple")
parameterEstimates(fit_bootstrap, level = 0.99, boot.ci.type = "bca.simple")

参数估计结果与标准化参数估计结果

1
2
3
4
5
6
7
8
9
10
11
12
13
14
15
16
17
18
19
20
21
22
23
Regressions:
Estimate Std.Err z-value P(>|z|) ci.lower ci.upper Std.lv Std.all
PEM ~
CPREL (a1) 0.428 0.065 6.633 0.000 0.294 0.553 0.428 0.416
SIZE (a2) -1.710 0.103 -16.522 0.000 -1.911 -1.505 -1.710 -0.679
CPRELSIZE (a3) -0.227 0.086 -2.622 0.009 -0.389 -0.051 -0.227 -0.158
SAT ~
PEM (c) 0.225 0.067 3.338 0.001 0.089 0.357 0.225 0.211
CPREL (b) 0.199 0.073 2.717 0.007 0.051 0.345 0.199 0.181

Variances:
Estimate Std.Err z-value P(>|z|) ci.lower ci.upper Std.lv Std.all
.PEM 0.741 0.054 13.708 0.000 0.627 0.839 0.741 0.469
.SAT 1.623 0.114 14.260 0.000 1.388 1.833 1.623 0.904

R-Square:
Estimate
PEM 0.531
SAT 0.096

Defined Parameters:
Estimate Std.Err z-value P(>|z|) ci.lower ci.upper Std.lv Std.all
h1 -0.045 0.025 -1.825 0.068 -0.100 -0.005 -0.045 -0.029

90%置信区间、95%置信区间、99%置信区间

1
2
3
4
5
6
7
8
9
10
11
12
13
14
15
16
17
18
19
20
21
22
23
24
25
26
> parameterEstimates(fit_bootstrap, level = 0.90, boot.ci.type = "bca.simple")
lhs op rhs label est se z pvalue ci.lower ci.upper
1 PEM ~ CPREL a1 0.428 0.065 6.633 0.000 0.317 0.529
2 PEM ~ SIZE a2 -1.710 0.103 -16.522 0.000 -1.883 -1.541
3 PEM ~ CPRELSIZE a3 -0.227 0.086 -2.622 0.009 -0.362 -0.078
4 SAT ~ PEM c 0.225 0.067 3.338 0.001 0.114 0.338
5 SAT ~ CPREL b 0.199 0.073 2.717 0.007 0.078 0.319
14 h1 := a3*b h1 -0.045 0.025 -1.825 0.068 -0.096 -0.013

> parameterEstimates(fit_bootstrap, level = 0.95, boot.ci.type = "bca.simple")
lhs op rhs label est se z pvalue ci.lower ci.upper
1 PEM ~ CPREL a1 0.428 0.065 6.633 0.000 0.293 0.551
2 PEM ~ SIZE a2 -1.710 0.103 -16.522 0.000 -1.913 -1.508
3 PEM ~ CPRELSIZE a3 -0.227 0.086 -2.622 0.009 -0.389 -0.050
4 SAT ~ PEM c 0.225 0.067 3.338 0.001 0.093 0.360
5 SAT ~ CPREL b 0.199 0.073 2.717 0.007 0.050 0.344
14 h1 := a3*b h1 -0.045 0.025 -1.825 0.068 -0.107 -0.008

> parameterEstimates(fit_bootstrap, level = 0.99, boot.ci.type = "bca.simple")
lhs op rhs label est se z pvalue ci.lower ci.upper
1 PEM ~ CPREL a1 0.428 0.065 6.633 0.000 0.249 0.583
2 PEM ~ SIZE a2 -1.710 0.103 -16.522 0.000 -1.979 -1.455
3 PEM ~ CPRELSIZE a3 -0.227 0.086 -2.622 0.009 -0.453 -0.002
4 SAT ~ PEM c 0.225 0.067 3.338 0.001 0.054 0.407
5 SAT ~ CPREL b 0.199 0.073 2.717 0.007 0.010 0.386
14 h1 := a3*b h1 -0.045 0.025 -1.825 0.068 -0.137 0.000

可以看出乘积系数h1 = a3*b的95%置信区间为[-0.100 ,-0.005],不包含0,表明积极的劳资关系压力PREL通过积极情绪PEM对工作满意度SAT的中介效应的前半路径收到企业规模SIZE的调节作用。

MCMC方法
1
2
3
4
5
# 使用贝叶斯估计进行拟合
fit_bayes <- bsem(model, data = data, n.chains = 2, burnin = 10000, sample = 30000)

# 查看模型摘要
summary(fit_bayes, fit.measures = TRUE, standardized = TRUE, rsquare = TRUE)
1
2
3
4
5
6
7
8
9
10
11
12
13
14
15
16
17
18
19
20
21
22
23
Regressions:
Estimate Post.SD pi.lower pi.upper Std.lv Std.all Rhat Prior
PEM ~
CPREL (a1) 0.429 0.064 0.304 0.556 0.429 0.414 1.000 normal(0,10)
SIZE (a2) -1.709 0.109 -1.921 -1.497 -1.709 -0.675 1.000 normal(0,10)
CPRELSIZE (a3) -0.228 0.089 -0.403 -0.053 -0.228 -0.158 1.000 normal(0,10)
SAT ~
PEM (c) 0.225 0.065 0.097 0.354 0.225 0.211 1.000 normal(0,10)
CPREL (b) 0.199 0.068 0.066 0.332 0.199 0.179 1.000 normal(0,10)

Variances:
Estimate Post.SD pi.lower pi.upper Std.lv Std.all Rhat Prior
.PEM 0.758 0.067 0.638 0.901 0.758 0.474 1.000 gamma(1,.5)[sd]
.SAT 1.651 0.147 1.387 1.965 1.651 0.905 1.000 gamma(1,.5)[sd]

R-Square:
Estimate
PEM 0.526
SAT 0.095

Defined Parameters:
Estimate Post.SD pi.lower pi.upper Std.lv Std.all Rhat Prior
h1 -0.045 0.024 -0.093 0.002 -0.045 -0.028

可以看出乘积系数h1 = a3*b的95%置信区间为[-0.093 ,0.002],包含0,表明积极的劳资关系压力PREL通过积极情绪PEM对工作满意度SAT的中介效应的前半路径收到企业规模SIZE的调节作用不显著。

多层线性模型

多水平分析简化模型类型

导入包与数据

1
2
3
4
5
6
7
8
9
10
11
12
13
14
15
16
17
18
# 导入包
library(haven)
library(psych)
library(lme4)
library(performance)
library(lmerTest)
library(parameters)

# 导入数据
setwd("/Users/nanxu/研究生课程作业/心理统计/课件数据/13第十三章 多层线性模型简介/")
data1 <- read_sav("./13-1.SAV")
data2 <- read_sav("./13-2.SAV")

# 查看数据
names(data1)
dim(data1)
names(data2)
dim(data2)

数据介绍及数据合并

1
2
3
4
5
6
7
8
9
10
11
12
13
# 描述数据
describe(data1)
describe(data2)

table(data1$id)
table(data2$id)

table(unique(data1$id) == data2$id)

# 合并数据
merged_data <- merge(data1, data2, by = "id")
names(merged_data)
dim(merged_data)

零模型

1
2
3
4
5
6
# 拟合零模型
model1 <- lmer(mathach ~ 1 + (1 | id), data = merged_data)
summary(model1, standardized=TRUE)

# 计算组间变异占总变异的比例(解释率)
icc(model1)

固定部分参数估计结果

1
2
3
Fixed effects:
Estimate Std. Error df t value Pr(>|t|)
(Intercept) 12.6370 0.2444 156.6473 51.71 <2e-16 ***

从固定部分参数可以看出,学校之间的数学成绩是存在显著差异的,γ00\gamma _{00}为12.6370,Pr(>|t|) <2e-16。

随机部分参数估计结果

1
2
3
4
5
Random effects:
Groups Name Variance Std.Dev.
id (Intercept) 8.614 2.935
Residual 39.148 6.257
Number of obs: 7185, groups: id, 160

从随机部分的参数可以看出,学校之间数学成绩存在显著的变异,τ00\tau _{00}为8.614

组间变异占总变异的比例

1
2
3
4
5
> icc(model1)
# Intraclass Correlation Coefficient

Adjusted ICC: 0.180
Unadjusted ICC: 0.180

表明学校间的变异解释了总体变异的18.0%

随机效应单因素协方差分析模型

1
2
3
# 随机效应单因素协方差分析模型
model1_2 <- lmer(mathach ~ 1 + (1 | id) + ses, data = merged_data)
summary(model1_2, standardized=TRUE)

固定部分参数估计结果

1
2
3
4
Fixed effects:
Estimate Std. Error df t value Pr(>|t|)
(Intercept) 12.6575 0.1880 148.3022 67.33 <2e-16 ***
ses 2.3902 0.1057 6838.0776 22.61 <2e-16 ***

随机部分参数估计结果

1
2
3
4
5
Random effects:
Groups Name Variance Std.Dev.
id (Intercept) 4.768 2.184
Residual 37.034 6.086
Number of obs: 7185, groups: id, 160

随机系数回归模型

1
2
3
# 第一水平加入ses的随机系数回归模型
model2 <- lmer(mathach ~ ses + (ses | id), data = merged_data)
summary(model2, standardized=TRUE)

固定部分参数估计结果

1
2
3
4
Fixed effects:
Estimate Std. Error df t value Pr(>|t|)
(Intercept) 12.6650 0.1898 145.5479 66.71 <2e-16 ***
ses 2.3938 0.1181 157.5299 20.27 <2e-16 ***

从固定部分参数可以看出,社会经济地位ses对数学成绩mathach有显著影响,γ10\gamma _{10}为2.3938,Pr(>|t|) <2e-16。

随机部分参数估计结果

1
2
3
4
5
6
Random effects:
Groups Name Variance Std.Dev. Corr
id (Intercept) 4.8287 2.1974
ses 0.4129 0.6426 -0.11
Residual 36.8301 6.0688
Number of obs: 7185, groups: id, 160

从随机部分的参数可以看出,第一水平的截距(τ00\tau _{00}为4.8287)和斜率(τ11\tau _{11}为0.4129)

第二水平仅截距项含有预测变量的随机系数回归模型

1
2
3
# 第二水平仅截距项含有预测变量disclim的随机系数回归模型
model3 <- lmer(mathach ~ ses + disclim + (ses | id), data = merged_data)
summary(model3, standardized=TRUE)

固定部分参数估计结果

1
2
3
4
5
Fixed effects:
Estimate Std. Error df t value Pr(>|t|)
(Intercept) 12.5783 0.1718 141.8784 73.202 < 2e-16 ***
ses 2.3877 0.1185 157.7795 20.151 < 2e-16 ***
disclim -1.2492 0.1765 156.4273 -7.076 4.69e-11 ***

从固定部分参数可以看出,学校纪律环境disclim对数学成绩mathach有显著影响,γ01\gamma _{01}为-1.2492,Pr(>|t|) <4.69e-11。

随机部分参数估计结果

1
2
3
4
5
Random effects:
Groups Name Variance Std.Dev. Corr
id (Intercept) 3.7840 1.9452
ses 0.4497 0.6706 0.36
Residual 36.7954 6.0659

第二水平仅截距项含有预测变量的随机系数回归模型(全模型)

1
2
3
4
# 第二水平含有预测变量disclim的随机系数回归模型(全模型)
model4 <- lmer(mathach ~ ses + disclim + ses * disclim + (ses | id), data = merged_data)
summary(model4, standardized=TRUE)
calculate_explained_variance(model3, model4, 2, 5)

固定部分参数估计结果

1
2
3
4
5
6
Fixed effects:
Estimate Std. Error df t value Pr(>|t|)
(Intercept) 12.6653 0.1703 147.7224 74.353 < 2e-16 ***
ses 2.4074 0.1060 2979.5968 22.721 < 2e-16 ***
disclim -1.1262 0.1762 151.2579 -6.391 1.93e-09 ***
ses:disclim 0.5735 0.1135 2497.9943 5.054 4.65e-07 ***

从固定部分参数可以看出,学校纪律环境disclim对社会经济地位ses和数学成绩mathach之间对关系具有显著的调节作用,γ11\gamma _{11}为0.5735,Pr(>|t|) <4.65e-07。

随机部分参数估计结果

1
2
3
4
5
6
Random effects:
Groups Name Variance Std.Dev. Corr
id (Intercept) 3.71623 1.9278
ses 0.02828 0.1682 1.00
Residual 36.86953 6.0720
Number of obs: 7185, groups: id, 160

多层线性模型分析追踪数据

个体特征随时间变化的趋势

导入包与数据

1
2
3
4
5
6
7
8
9
10
11
12
13
14
15
# 导入包
library(haven)
library(psych)
library(lme4)

# 导入数据
setwd("/Users/nanxu/研究生课程作业/心理统计/课件数据/14第十四章 多层线性模型在追踪研究中的应用/")
data1 <- read_sav("./14-1.sav")
data2 <- read_sav("./14-2.sav")

# 查看数据
names(data1)
dim(data1)
names(data2)
dim(data2)

数据介绍与数据合并

1
2
3
4
5
6
7
8
9
10
# 描述数据
describe(data1)
describe(data2)

table(unique(data1$ID) == data2$ID)

# 合并数据
merged_data <- merge(data1, data2, by = "ID")
names(merged_data)
dim(merged_data)

线性增长模型

无条件均值模型
1
2
3
4
5
6
# 无条件均值模型零模型
model1 <- lmer(SELF ~ 1 + (1 | ID), data = merged_data)
summary(model1, standardized=TRUE)

# 计算组间变异占总变异的比例(解释率)
icc(model1)

固定部分参数估计结果

1
2
3
Fixed effects:
Estimate Std. Error df t value Pr(>|t|)
(Intercept) 2.69007 0.02226 263.00000 120.8 <2e-16 ***

随机部分参数估计结果

1
2
3
4
5
Random effects:
Groups Name Variance Std.Dev.
ID (Intercept) 0.09694 0.3114
Residual 0.13568 0.3683
Number of obs: 1056, groups: ID, 264

个体间变异占总变异的比例

1
2
3
4
5
> icc(model1)
# Intraclass Correlation Coefficient

Adjusted ICC: 0.417
Unadjusted ICC: 0.417
无条件增长模型
1
2
3
# 无条件增长模型
model2 <- lmer(SELF ~ TIME + (TIME | ID), data = merged_data)
summary(model2, standardized=TRUE)

固定部分参数估计结果

1
2
3
4
Fixed effects:
Estimate Std. Error df t value Pr(>|t|)
(Intercept) 2.81608 0.02137 262.99975 131.804 < 2e-16 ***
TIME -0.08401 0.01162 262.99948 -7.228 5.31e-12 ***

随机部分参数估计结果

1
2
3
4
5
6
Random effects:
Groups Name Variance Std.Dev. Corr
ID (Intercept) 0.05258 0.2293
TIME 0.01625 0.1275 0.20
Residual 0.09705 0.3115
Number of obs: 1056, groups: ID, 264
全模型
1
2
3
# 全模型
model3 <- lmer(SELF ~ TIME + TIME*GENDER + TIME*WITHDRAW + (TIME | ID), data = merged_data)
summary(model3, standardized=TRUE)

固定部分参数估计结果

1
2
3
4
5
6
7
8
Fixed effects:
Estimate Std. Error df t value Pr(>|t|)
(Intercept) 2.813817 0.031052 260.998678 90.617 < 2e-16 ***
TIME -0.116611 0.017290 260.999768 -6.744 9.85e-11 ***
GENDER 0.004017 0.041401 260.998678 0.097 0.92278
WITHDRAW -0.104416 0.020567 260.998677 -5.077 7.30e-07 ***
TIME:GENDER 0.057760 0.023052 260.999768 2.506 0.01283 *
TIME:WITHDRAW 0.032042 0.011452 260.999769 2.798 0.00553 **

从固定部分参数可以看出,对于第一水平的截距,在控制性别和初始退缩行为后,初始自我概念的均值(Intercept)β00\beta _{00}为2.813817,初始状态男女生自我概念的均值GENDER不存在显著差异(β01\beta _{01}为0.004017,Pr(>|t|) 为0.92278),初始退缩行为WITHDRAW对初始的自我概念SELF有负向的预测作用(β02\beta _{02}为-0.104416,Pr(>|t|)为7.30e-07);对于第一水平斜率,在控制了性别与初始退缩行为影响后,从时间TIME上依然有明显的下降趋势(β10\beta _{10}为-0.116611,Pr(>|t|)为9.85e-11),男生的自我概念要比女生的自我概念下降的速度TIME:GENDER慢(β11\beta _{11}为0.057760,Pr(>|t|)为0.01283),退缩行为严重的儿童自我概念下降也较为缓慢(β12\beta _{12}为0.032042,Pr(>|t|)为0.00553)

随机部分参数估计结果

1
2
3
4
5
6
Random effects:
Groups Name Variance Std.Dev. Corr
ID (Intercept) 0.04247 0.2061
TIME 0.01482 0.1217 0.35
Residual 0.09705 0.3115
Number of obs: 1056, groups: ID, 264

非线性增长模型

1
2
3
# 非线性增长模型
model4 <- lmer(SELF ~ TIME + TIME2 + (TIME | ID) + (TIME2 | ID), data = merged_data)
summary(model4, standardized=TRUE)

固定部分参数估计结果

1
2
3
4
5
Fixed effects:
Estimate Std. Error df t value Pr(>|t|)
(Intercept) 2.852225 0.022981 359.215039 124.114 < 2e-16 ***
TIME -0.192433 0.030473 642.042214 -6.315 5.05e-10 ***
TIME2 0.036140 0.009452 539.663802 3.823 0.000147 ***

从固定部分参数可以看出,从时间上自我概念有显著的二次型变化趋势TIME2(β20\beta _{20}为0.036140,Pr(>|t|)为0.000147)

随机部分参数估计结果

1
2
3
4
5
6
7
Random effects:
Groups Name Variance Std.Dev. Corr
ID (Intercept) 0.0099524 0.09976
TIME 0.0156733 0.12519 1.00
ID.1 (Intercept) 0.0404869 0.20121
TIME2 0.0001715 0.01310 -1.00
Residual 0.0936648 0.30605

随时间变化的预测变量对发展趋势的影响

导入包与数据

1
2
3
4
5
6
7
8
9
10
11
12
13
14
15
# 导入包
library(haven)
library(psych)
library(lme4)

# 导入数据
setwd("/Users/nanxu/研究生课程作业/心理统计/课件数据/14第十四章 多层线性模型在追踪研究中的应用/")
data1 <- read_sav("./14-9.sav")
data2 <- read_sav("./14-10.sav")

# 查看数据
names(data1)
dim(data1)
names(data2)
dim(data2)

数据介绍与数据合并

1
2
3
4
5
6
7
8
9
10
# 描述数据
describe(data1)
describe(data2)

table(unique(data1$id) == data2$id)

# 合并数据
merged_data <- merge(data1, data2, by = "id")
names(merged_data)
dim(merged_data)
1
2
3
# 不考虑第二水平预测变量的解释作用,对于第一水平随时间变化的预测变量假设为固定参数
model <- lmer(marhap ~ marpro1 + ager_25 + (marpro1 | id) + (ager_25 | id), data = merged_data)
summary(model, standardized=TRUE)

固定部分参数估计结果

1
2
3
4
5
Fixed effects:
Estimate Std. Error df t value Pr(>|t|)
(Intercept) 31.25034 0.27993 170.73475 111.636 < 2e-16 ***
marpro1 -2.26712 0.28439 408.28264 -7.972 1.58e-14 ***
ager_25 -0.13618 0.02197 225.26668 -6.199 2.69e-09 ***

从固定部分参数可以看出,婚姻幸福感marhap随着年龄ager_25增加有显著的下降趋势(β20\beta _{20}为-0.13618,Pr(>|t|)为2.69e-09),近期家庭中是否存在问题marpro1对婚姻幸福感marhap有显著的影响,有问题的个体比没有问题的个体平均低2.26712

随机部分参数估计结果

1
2
3
4
5
6
7
8
Random effects:
Groups Name Variance Std.Dev. Corr
id (Intercept) 0.00000 0.0000
marpro1 3.77998 1.9442 NaN
id.1 (Intercept) 0.96071 0.9802
ager_25 0.02832 0.1683 0.24
Residual 5.95213 2.4397
Number of obs: 910, groups: id, 231